Curiosii for ever!: Car repair manuals for everyone.

System Specifications

Cylinder Block Specifications

CYLINDER BLOCK WARPAGE





Maximum warpage: 0.05 mm (0.0020 in.)


CYLINDER BORE

Standard diameter: 88.500 to 88.513 mm (3.4843 to 3.4847 in.)
Maximum diameter: 88.633 mm (3.4894 in.)

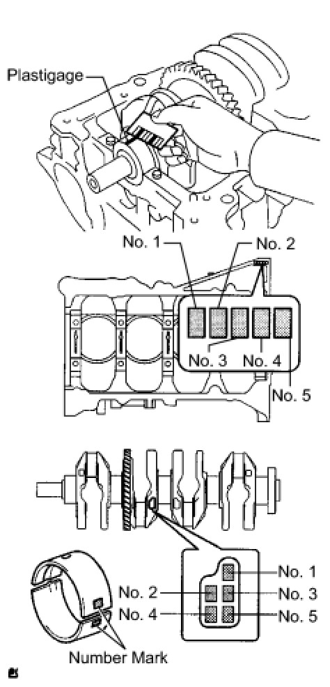
CRANKSHAFT MAIN BEARING

Torque





Step 1:
Install and uniformly tighten the 10 main bearing cap bolts in several steps in the sequence shown in the illustration.
Torque: 20 Nm (204 kgf-cm, 15 ft-lbf)

Step 2:
Tighten the bearing cap bolts in several steps in the sequence shown in the illustration.
Torque: 40 Nm (408 kgf-cm, 30 ft-lbf)





Step 3:
Mark the front of the bearing cap bolts with paint.
Further tighten the bearing cap bolts by 90° in the sequence shown in the previous illustration.
Check that the paint mark is now at a 90° angle to the front.

CRANKSHAFT

Maximum circle runout: 0.03 mm (0.0012 in.)

Standard diameter: 54.988 to 55.000 mm (2.1649 to 2.1654 in.)

Maximum taper and distortion: 0.003 mm (0.0001 in.)

CRANKSHAFT THRUST CLEARANCE

Standard thrust clearance: 0.04 to 0.24 mm (0.0016 to 0.0095 in.)
Maximum thrust clearance: 0.30 mm (0.0118 in.)

Standard crankshaft journal diameter:





MAIN BEARING





Standard oil clearance: 0.017 to 0.040 mm (0.0007 to 0.0016 in.)
Maximum oil clearance: 0.060 mm (0.0024 in.)

Standard bearing center wall thickness:






CONNECTING ROD BOLT

Standard diameter: 7.2 to 7.3 mm (0.283 to 0.287 in.)
Minimum diameter: 7.0 mm (0.276 in.)

CONNECTING ROD

Maximum misalignment: 0.05 mm (0.0020 in.) per 100 mm (3.94 in.)

Maximum twist: 0.15 mm (0.0059 in.) per 100 mm (3.94 in.)

CONNECTING ROD THRUST CLEARANCE

Standard thrust clearance: 0.160 to 0.362 mm (0.0063 to 0.0143 in.)
Maximum thrust clearance: 0.362 mm (0.0143 in.)

Standard connecting rod large end bore diameter:





CONNECTING ROD BEARING

Standard oil clearance: 0.032 to 0.063 mm (0.0013 to 0.0025 in.)
Maximum oil clearance: 0.063 mm (0.0025 in.)

Standard connecting rod bearing thickness:





PISTON

Standard piston diameter: 88.469 to 88.479 mm (3.4830 to 3.4834 in.)


Standard oil clearance: 0.021 to 0.044 mm (0.0008 to 0.0017 in.)
Maximum oil clearance: 0.10 mm (0.0039 in.)

PISTON RING

Standard ring groove clearance:





Standard end gap:






Maximum end gap:





CRANKSHAFT PULLEY

Torque: 180 Nm (1835 kgf-cm, 133 ft-lbf)