Curiosii for ever!: Car repair manuals for everyone.

Ignition Relay: Testing and Inspection








2AZ-FE ENGINE CONTROL SYSTEM: IGNITION RELAY NO. 1: ON-VEHICLE INSPECTION

ON-VEHICLE INSPECTION

1. REMOVE INSTRUMENT PANEL FINISH LOWER PANEL SUB-ASSEMBLY Removal





2. REMOVE NO. 1 IGNITION RELAY
(a) Remove the No. 1 ignition relay.
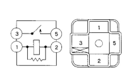
3. INSPECT NO. 1 IGNITION RELAY





(a) Measure resistance of the No. 1 ignition relay.
Standard resistance:





If the result is not as specified, replace the relay.
4. INSTALL NO. 1 IGNITION RELAY
(a) Install the No. 1 ignition relay.
5. INSTALL INSTRUMENT PANEL FINISH LOWER PANEL SUB-ASSEMBLY Installation