Curiosii for ever!: Car repair manuals for everyone.

Programming and Relearning









ENGINE IMMOBILISER: ENGINE IMMOBILISER SYSTEM: REGISTRATION

ENGINE IMMOBILISER: ENGINE IMMOBILISER SYSTEM: REGISTRATION

1. DESCRIPTION OF CODE REGISTRATION
HINT:
- The key has 2 codes: the key code (immobiliser code), the wireless code. All of these code types need to be registered. Refer to the following key code registration procedures and the wireless code registration procedures.
- The key code is needed when the transponder key ECU, ECM, or key is replaced with a new one.

2. PART REPLACEMENT AND KEY REGISTRATION PROCEDURES
(a) The following table shows ECU replacement and key registration procedures in case the malfunctioning ECU has been specified after troubleshooting the engine immobiliser system.
HINT:
- The following procedures indicated in the table below require the use of the Techstream:
New key ID registration
Additional key ID registration
Key ID erasure
ECU code registration
- If all of the registered keys are not available, replacement of the transponder key ECU is also required.
- A maximum of 5 key codes for 3 master keys and 2 sub-keys can be registered.





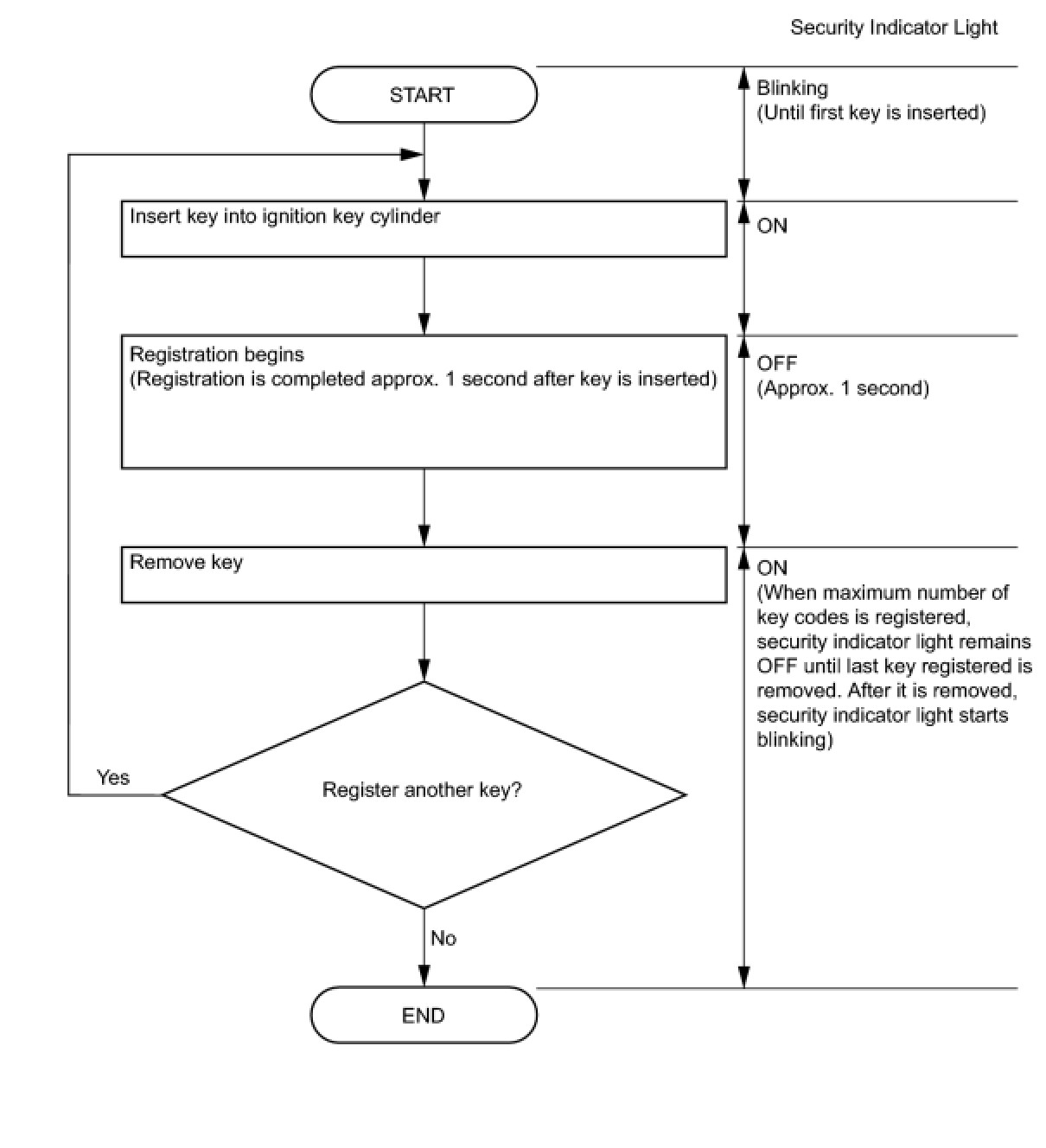
3. KEY REGISTRATION IN AUTOMATIC REGISTRATION (NEW REGISTRATION)
(a) When an ignition key is inserted into the ignition key cylinder, the key code (immobiliser code) registration is automatic. In this mode, a maximum of 5 key codes for 3 master keys and 2 sub-keys can be registered. Any order of registration for the master keys and sub-key can be registered because the transponder key ECU can distinguish between different types of keys.
HINT:
- When a new transponder key ECU is installed, key codes (immobiliser codes) must be registered in the transponder key ECU.
- New transponder key ECUs are automatically set to automatic key code registration mode.




HINT:
- When no key is inserted into the ignition key cylinder in automatic key code registration mode, the security indicator light remains ON.
- When the immobiliser system is operating normally and the key is pulled out, the security indicator light blinks continuously.
- If the key code registration has failed in automatic key code registration mode, code 2-1 will be output from the security indicator light. Trying to reregister an already registered key will cause code 2-2 to be output when the key is inserted. If the number of registered key codes exceeds the limit, code 2-3 will be output from the security indicator light. The output details are shown below.





(b) Finish the automatic key code registration mode.
HINT:
The automatic key code registration mode can be forced to end when at least 1 key code (immobiliser code) for the master key has been registered.
- Not using Techstream: Turn the ignition switch ON and OFF 5 times within 10 seconds using the already registered master key.
- Using Techstream: Follow the instruction on the Techstream screen to end new key code registration mode.

4. REGISTRATION OF ADDITIONAL KEY (ADDITIONAL REGISTRATION)
(a) Register an additional key using the Techstream.
HINT:
- A maximum of 5 key codes and 3 sub-key codes can be registered.
- Registration mode will be ended if each step is not completed within the specified time.
- When the ignition key cylinder or the door key cylinder set is replaced, remove the transmitter module from the original master key. Then install this transmitter module to a new key and use the new key as the master key. If necessary, use this master key to register other keys.
NOTICE: When the ignition key cylinder has been replaced, locking and unlocking doors are possible with the new master key's transmitter module (taken from the original master key). However, the new master key will not be able to lock and unlock doors through the door key cylinder. Keep the original master key. If the new master key's transmitter module's battery fails, the original master key can be used to lock and unlock doors through the door key cylinder.




HINT:
- A brief outline of procedures for key code registration is shown above. For more detailed information, refer to the Techstream screen's instructions.
- When the immobiliser system is operating normally and key is pulled out, the security indicator light blinks continuously.
- If the key code registration has failed in automatic key code registration mode, code 2-1 will be output from the security indicator light. Trying to reregister an already registered key will be cause code 2-2 to be output when the key is inserted. If the number of registered key codes exceeds the limit, code 2-3 will be output from the security indicator light. The output details are shown in the "KEY REGISTRATION IN AUTOMATIC REGISTRATION (NEW REGISTRATION)" procedures.

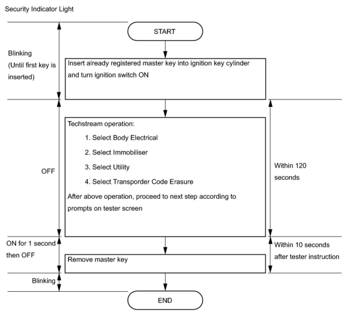
5. ERASURE OF KEY CODE
(a) Erase the key codes using the Techstream.
HINT:
- All key codes are erased except for the master key that is used to erase the key codes. In order to use a key whose code has been erased, a new key code must be registered.
- Registration will be canceled if each step is not completed within the specified time.




HINT:
- A brief outline of procedures for the key code erasure is shown above. For more detailed information, refer to the Techstream screen's instructions.
- When the immobiliser system is operating normally and key is pulled out, the security indicator light blinks continuously.

6. ECU COMMUNICATION ID REGISTRATION
NOTICE:
- If the transponder key ECU and / or ECM has been replaced, register the ECU COMMUNICATION ID to both in order to match their IDs.
- The engine cannot be started unless the ECU COMMUNICATION ID matches.





(a) Register the ECU COMMUNICATION ID.
(1) Using SST, connect terminals TC and CG of the DLC3.
SST: 09843-18040
(2) Turn the ignition switch ON (do not start the engine) and leave it as is for 30 minutes.
(3) Turn the ignition switch OFF and disconnect terminals TC and CG.
(4) Check that the engine starts.