Curiosii for ever!: Car repair manuals for everyone.

Installation








WINDSHIELD / WINDOWGLASS: WINDSHIELD GLASS: INSTALLATION

INSTALLATION





1. CLEAN WINDSHIELD GLASS
(a) Using a scraper, remove the damaged stoppers, dam and adhesive from the windshield glass.
NOTE: Be careful not to damage the windshield glass.

(b) Clean the outer edge of the windshield glass with a non-residue solvent.
NOTICE:
- Do not touch the windshield glass surface after cleaning it.
- Even if using a new windshield glass, clean the windshield glass with a non-residue solvent.

2. CLEAN VEHICLE BODY






(a) Clean and shape the contact surface of the vehicle body.
(1) Using a knife, cut away any rough adhesive on the contact surface of the vehicle body to ensure the appropriate surface shape.
NOTE: Do not damage the vehicle body.
HINT: Leave as much adhesive on the vehicle body as possible.
(2) Clean the contact surface of the vehicle body with a shop rag or piece of cloth saturated with cleaner.
HINT: Clean the vehicle body even if all the adhesive has been removed.

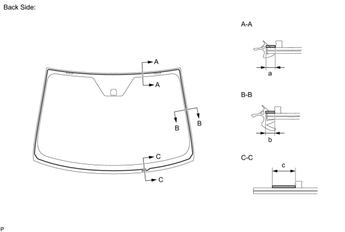
3. INSTALL NO. 2 WINDSHIELD GLASS STOPPER
(a) Using a brush or sponge, coat the application area of the No. 2 stoppers with Primer G.
NOTICE:
- Do not apply too much primer.
- Allow the primer coating to dry for 3 minutes or more.
- Throw away any leftover primer.
HINT: If an area other than that specified is coated by accident, wipe off the primer with a clean piece of cloth before it dries.

(b) Install 2 new No. 2 stoppers onto the windshield glass, as shown in the illustration.





Standard dimension:





HINT: Only 2-piece type No. 2 stoppers are supplied. Use the 2-piece type stoppers even if a 1-piece type was used.





4. INSTALL NO. 1 WINDSHIELD GLASS STOPPER
(a) Install 2 new No. 1 stoppers to the vehicle body, as shown in the illustration.
HINT: Only 2-piece type No. 1 stoppers are supplied. Use the 2-piece type stoppers even if a 1-piece type was used.

5. INSTALL WINDSHIELD OUTSIDE MOULDING
(a) Using a brush or sponge, coat the application area of the moulding with Primer G.
NOTICE:
- Do not apply too much primer.
- Allow the primer coating to dry for 3 minutes or more.
- Throw away any leftover primer.
HINT: If an area other than that specified is coated by accident, wipe off the primer with a clean piece of cloth before it dries.

(b) Install a new moulding onto the windshield glass, as shown in the illustration.





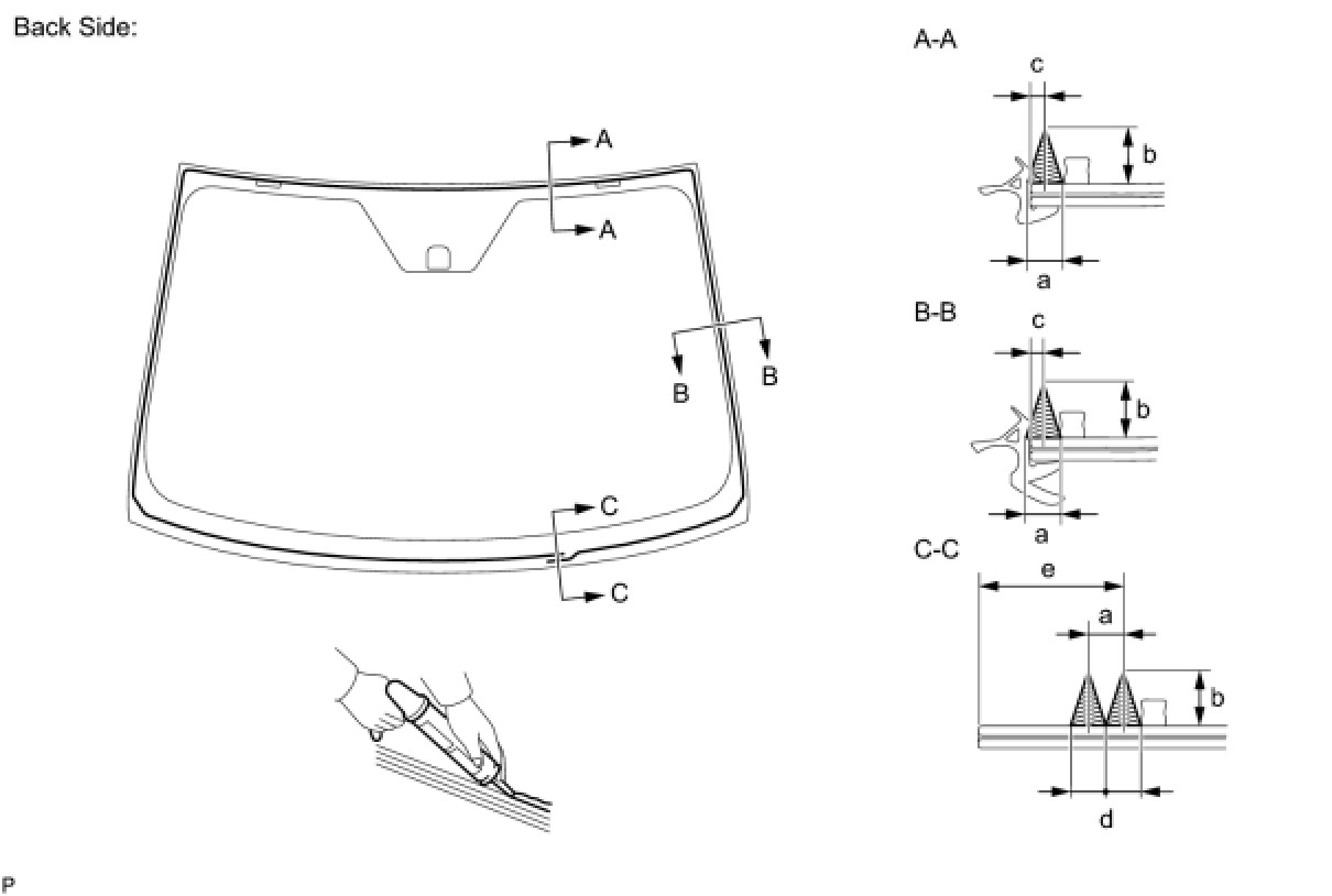
6. INSTALL WINDOW GLASS ADHESIVE DAM
(a) Using a brush or sponge, coat the application area of adhesive dam with Primer G.
NOTICE:
- Do not apply too much primer.
- Allow the primer coating to dry for 3 minutes or more.
- Throw away any leftover primer.
HINT: If an area other than that specified is coated by accident, wipe off the primer with a clean piece of cloth before it dries.

(b) Install a new adhesive dam onto the windshield glass, as shown in the illustration.





Standard dimension:





NOTE: Install the new adhesive dam along the ceramic notches.

7. INSTALL WINDSHIELD GLASS





(a) Position the windshield glass.
(1) Using suction cups, place the windshield glass in the correct position.
(2) Check that the whole contact surface of the windshield glass rim is perfectly even.
(3) Align the matchmarks on the windshield glass and vehicle body.
NOTE: Check that the windshield glass stoppers are attached to the vehicle body correctly.





(b) Using a brush, coat the installation surface on the vehicle body with Primer M.
NOTE:
- Do not coat the adhesive with Primer M.
- Do not apply too much primer.
- Allow the primer coating to dry for 3 minutes or more.
- Throw away any leftover primer.
HINT: If an area other than that specified is coated by accident, wipe off the primer with a clean piece of cloth before it dries

(c) Using a brush or sponge, coat the application areas that still have adhesive attached with Primer G.





Standard dimension:





NOTICE:
- Do not apply too much primer.
- Allow the primer coating to dry for 3 minutes or more.
- Throw away any leftover primer.
HINT:
- Apply Primer G onto the ceramic notches.
- If an area other than that specified is coated by accident, wipe off the primer with a clean piece of cloth before it dries.

(d) Apply adhesive to the glass.
Adhesive:
Toyota Genuine Windshield Glass Adhesive or equivalent





(1) Cut off the tip of the cartridge nozzle, as shown in the illustration.
HINT: After cutting off the tip, use all adhesive within the time limit described in the table below.

Usage time frame:





(2) Load the sealer gun with a cartridge.
(3) Apply adhesive to the windshield glass, as shown in the illustration.





Standard dimension:






(e) Install the windshield glass.





(1) Using suction cups, position the windshield glass so that the matchmarks are aligned, and press it in gently along the rim.
NOTICE:
- Check that the windshield glass stoppers are attached to the vehicle body correctly.
- Check the clearance between the vehicle body and windshield glass.
(2) Lightly press the front surface of the windshield glass to ensure a close fit.
HINT: Press the glass with force of 98 N (10 kgf, 22 lb) or more.





(3) If necessary, use a scraper to correct the level or position of adhesive that has been applied.
HINT: Apply adhesive onto the windshield glass rim.
(4) Hold the windshield glass using protective tape until applied adhesive hardens.
NOTE: Do not drive the vehicle within the time limits described in the table below.

Minimum time:






8. CHECK FOR LEAKAGE AND REPAIR
(a) After the adhesive has hardened, apply water from the outside of the vehicle. Check that no water leaks into the cabin.
(b) If water leaks into the cabin, allow the water to dry and add adhesive.
(c) Remove the protective tape.
9. INSTALL INNER REAR VIEW MIRROR ASSEMBLY Installation

10. INSTALL ROOF HEADLINING ASSEMBLY
HINT: Return the front section of the roof headlining assembly to the original position.

11. INSTALL ROOM LIGHT ASSEMBLY Installation

12. INSTALL PERSONAL LIGHT ASSEMBLY Installation

13. INSTALL VISOR HOLDER Installation

14. INSTALL VISOR ASSEMBLY RH Installation

15. INSTALL VISOR ASSEMBLY LH Installation

16. INSTALL ASSIST GRIP Installation

17. INSTALL FRONT PILLAR GARNISH RH Installation

18. INSTALL FRONT PILLAR GARNISH LH Installation

19. INSTALL FRONT DOOR OPENING TRIM WEATHERSTRIP RH Installation

20. INSTALL FRONT DOOR OPENING TRIM WEATHERSTRIP LH Installation

21. INSTALL COWL SIDE TRIM BOARD RH Installation

22. INSTALL COWL SIDE TRIM BOARD LH Installation

23. INSTALL NO. 1 INSTRUMENT PANEL UNDER COVER SUB-ASSEMBLY Installation

24. INSTALL NO. 2 INSTRUMENT PANEL UNDER COVER SUB-ASSEMBLY Installation

25. INSTALL FRONT DOOR SCUFF PLATE RH Installation

26. INSTALL FRONT DOOR SCUFF PLATE LH Installation

27. INSTALL COWL TOP VENTILATOR LOUVER LH Installation

28. INSTALL COWL TOP VENTILATOR LOUVER SUB-ASSEMBLY Installation

29. INSTALL HOOD TO COWL TOP SEAL Installation

30. INSTALL FRONT WIPER ARM AND BLADE ASSEMBLY LH Installation

31. INSTALL FRONT WIPER ARM AND BLADE ASSEMBLY RH Installation

32. INSTALL FRONT WIPER ARM HEAD CAP Installation

33. CONNECT CABLE TO NEGATIVE BATTERY TERMINAL
Torque: 5.4 Nm (55 kgf-cm, 48 in-lbf)
34. INSPECT SRS WARNING LIGHT
Diagnosis System.