Curiosii for ever!: Car repair manuals for everyone.

System Specifications

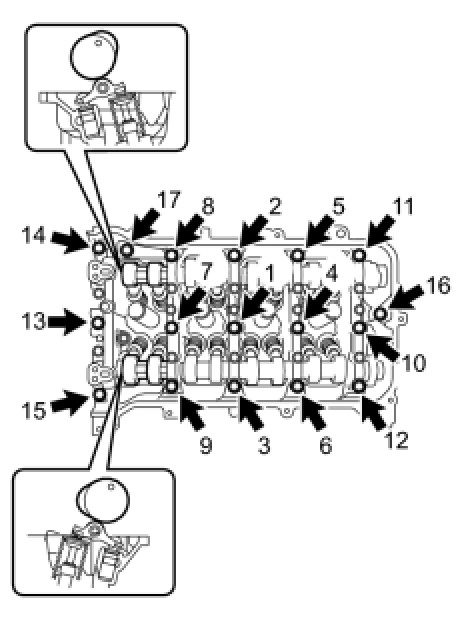
CYLINDER HEAD SUB-ASSEMBLY






Torque: 49 Nm (500 kgf-cm, 36 ft-lbf)






Mark the front of the cylinder head bolt with paint.
Retighten the cylinder head bolts by additional 90° and one more additional 45° as shown in the illustration.

BOLT RE-USABILITY
Standard bolt length:
146.8 to 148.2 mm (5.7795 to 5.8346 in.)
Maximum bolt length:
149.2 mm (5.874 in.)

CYLINDER BLOCK FOR WARPAGE

Maximum warpage:
0.05 mm (0.0020 in.)

CYLINDER HEAD FOR FLATNESS

Maximum warpage:





INTAKE MANIFOLD





Torque: 28 Nm (286 kgf-cm, 21 ft-lbf)

CAMSHAFT BEARING CAP





Torque: 16 Nm (163 kgf-cm, 12 ft-lbf)

CAMSHAFT HOUSING SUB-ASSEMBLY






Torque: 27 Nm (275 kgf-cm, 20 ft-lbf)

CRANKSHAFT PULLEY TORQUE

Torque: 190 Nm (1940 kgf-cm, 140 ft-lbf)

EXHAUST MANIFOLD






Torque: 21 Nm (214 kgf-cm, 16 ft-lbf)