Curiosii for ever!: Car repair manuals for everyone.

Installation








2AZ-FE IGNITION: IGNITION COIL AND SPARK PLUG: INSTALLATION

INSTALLATION





1. INSTALL SPARK PLUG
(a) Install the 4 spark plugs.
Torque: 19 Nm (194 kgf-cm, 14 ft-lbf)






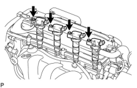
2. INSTALL IGNITION COIL ASSEMBLY
(a) Install the 4 ignition coils with the 4 bolts.
Torque: 9.0 Nm (92 kgf-cm, 80 in-lbf)
(b) Connect the 4 ignition coil connectors.
3. INSPECT IGNITION TIMING Engine







4. INSTALL NO. 1 ENGINE COVER SUB-ASSEMBLY
(a) Install the engine cover with the 2 nuts.
Torque: 9.0 Nm (92 kgf-cm, 80 in-lbf)