Curiosii for ever!: Car repair manuals for everyone.

VC Output Circuit








2AZ-FE ENGINE CONTROL SYSTEM: SFI SYSTEM: VC Output Circuit

VC Output Circuit

DESCRIPTION

The ECM constantly generates 5 V power from the battery voltage supplied to the +B (BATT) terminal to operate the microprocessor. The ECM also provides this power to the sensors through the VC output circuit.





When the VC circuit is short-circuited, the microprocessor in the ECM and sensors that are supplied with power through the VC circuit are inactivated because the power is not supplied from the VC circuit. Under this condition, the system does not start up and the MIL does not illuminate even if the system malfunctions.
HINT: Under normal conditions, the MIL is illuminated for several seconds when the ignition switch is first turned ON. The MIL goes off when the engine is started.

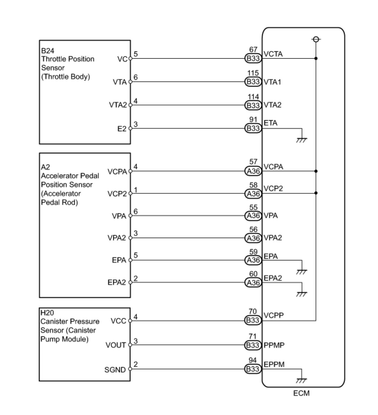
WIRING DIAGRAM





INSPECTION PROCEDURE

PROCEDURE

1. CHECK MIL
(a) Check that the Malfunction Indicator Lamp (MIL) lights up when turning the ignition switch to ON.
OK:
MIL lights up
NG -- CHECK COMMUNICATION BETWEEN INTELLIGENT TESTER (TECHSTREAM) AND ECM
OK -- SYSTEM OK
2. CHECK COMMUNICATION BETWEEN INTELLIGENT TESTER (TECHSTREAM) AND ECM
(a) Connect an intelligent tester or a Techstream to the DLC3.
(b) Turn the ignition switch to ON.
(c) Turn the tester ON.
(d) Check the communication between the tester and ECM.
Result:






A -- GO TO MIL CIRCUIT
B -- Continue to next step.
3. CHECK MIL (THROTTLE POSITION SENSOR)
(a) Disconnect the throttle body connector.
(b) Turn the ignition switch to ON.
(c) Check the MIL.
Result:





(d) Reconnect the throttle body connector.
A -- REPLACE THROTTLE BODY
B -- Continue to next step.
4. CHECK MIL (ACCELERATOR PEDAL POSITION SENSOR)
(a) Disconnect the accelerator pedal position sensor connector.
(b) Turn the ignition switch to ON.
(c) Check the MIL.
Result:





(d) Reconnect the accelerator pedal position sensor connector.
A -- REPLACE ACCELERATOR PEDAL ROD ASSEMBLY
B -- Continue to next step.
5. CHECK MIL (CANISTER PUMP MODULE)





(a) Disconnect the canister pump module connector.
(b) Turn the ignition switch to ON.
(c) Check the MIL.
Result:





(d) Reconnect the canister pump module connector.
A -- REPLACE CANISTER
B -- Continue to next step.
6. CHECK HARNESS AND CONNECTOR (VC CIRCUIT))
(a) Disconnect the throttle body connector.
(b) Disconnect the accelerator pedal position sensor connector.
(c) Disconnect the canister pump module connector.





(d) Disconnect the ECM connectors.
(e) Measure the resistance.
Standard resistance (check for short):





(f) Reconnect the throttle body connector.
(g) Reconnect the accelerator pedal position sensor connector.
(h) Reconnect the canister pump module connector.
(i) Reconnect the ECM connectors.
NG -- REPAIR OR REPLACE HARNESS OR CONNECTOR
OK -- REPLACE ECM