Programming and Relearning
2AZ-FE ENGINE CONTROL SYSTEM: SFI SYSTEM: REGISTRATION
REGISTRATION
NOTE: The Vehicle Identification Number (VIN) must be input into the replacement ECM.
HINT: The VIN is a 17-digit alphanumeric vehicle identification number. An intelligent tester is required to register the VIN.
1. INPUT INSTRUCTIONS
(a) The general VIN input instructions using an intelligent tester are explained below.
(b) The arrow buttons (UP, DOWN, RIGHT and LEFT) and numerical buttons (0 to 9) are used, in order to input the VIN.
(c) Cursor Operation
- To move the cursor around the tester screen, press the RIGHT or LEFT button.
(d) Alphabetical Character Input
(1) Press the UP and DOWN buttons to select the desired alphabetical character.
(2) After selection, the cursor should move.
(e) Numeric Character Input
(1) Press the numerical button corresponding to the number that you want to input.
(2) Select or input the correct character using the UP/DOWN buttons, or the numerical buttons.
HINT: Numerical characters can also be selected and input using the UP and DOWN buttons.
(f) Correction
(1) After input, the cursor should move.
(2) When correcting the input character(s), put the cursor onto the character using the RIGHT or LEFT button.
(g) Finishing Input Operation
(1) Make sure that the input VIN matches the vehicle VIN after input.
(2) Press the ENTER button on the tester.
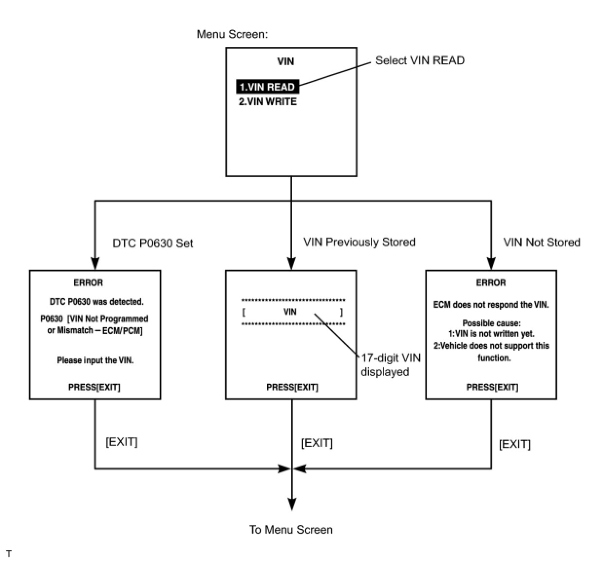
2. READ VIN (Vehicle Identification Number)
(a) The VIN reading process is explained in a flowchart. This process allows the VIN stored in the ECM to be read in order to confirm that the 2 VINs, provided with the vehicle and stored in the vehicle's ECM, are the same.
(b) Read the VIN using an intelligent tester.
(c) Check the vehicle's VIN.
(d) Connect the intelligent tester to the DLC3.
(e) Turn the ignition switch to the ON position.
(f) Turn the tester on.
(g) Enter the following menus: DIAGNOSIS / ENHANCED OBD II/ VIN.
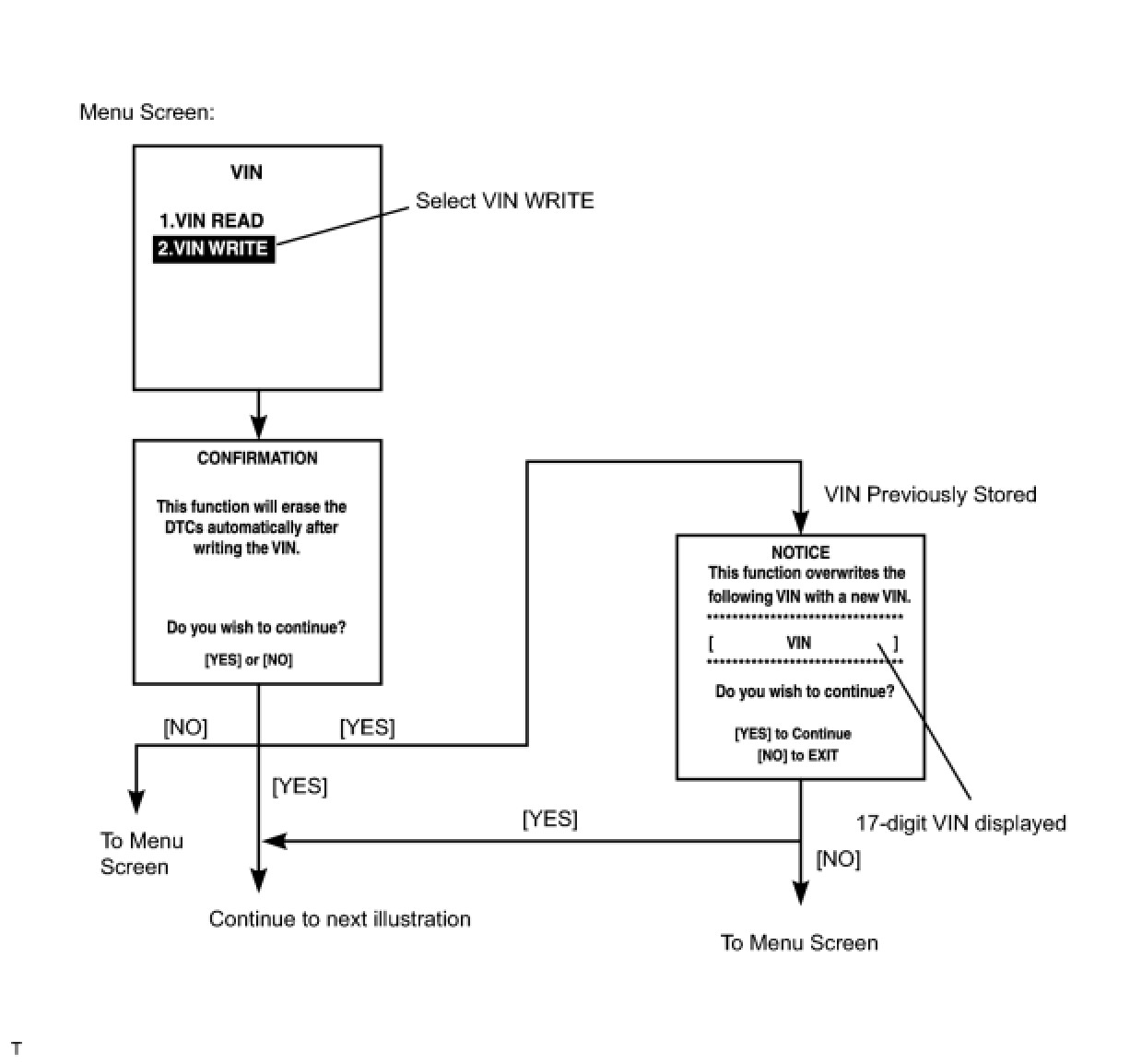
3. WRITE VIN
(a) The VIN writing process is explained in a flowchart. This process allows the VIN to be input into the ECM. If the ECM is changed, or the 2 VINs do not match, the VIN can be registered, or overwritten in the ECM by following this procedure.
(b) Write the VIN using the intelligent tester.
(c) Check the vehicle's VIN.
(d) Connect the intelligent tester to the DLC3.
(e) Turn the ignition switch to the ON position.
(f) Turn the tester on.
(g) Enter the following menus: DIAGNOSIS / ENHANCED OBD II/ VIN.