Curiosii for ever!: Car repair manuals for everyone.

System Specifications

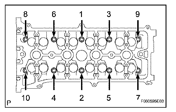
Cylinder Head





Using several steps, uniformly install and tighten the 10 cylinder head bolts and plate washers with a 10 mm bi-hexagon wrench in the sequence shown in the illustration.
Torque 78.5 N*m (800 kgf*cm, 58 ft.*lbf)





Mark the front of the cylinder head bolts with paint.
Retighten the cylinder head bolts so that the paint marks are at a 90° angle to the front.

Cylinder head
Warpage
Maximum 0.08 mm (0.0032 in.)
Cylinder head set bolt
Bolt length
Standard 161.3 to 162.7 mm (6.350 to 6.406 in.)
Maximum 164.2 mm (6.465 in.)

Intake Manifold
Torque 20 N*m (306 kgf*cm, 22 ft.*lbf)

Camshaft Bearing Cap
Camshaft





Using several steps, uniformly tighten the 10 bearing cap bolts in the sequence shown in the illustration.
Torque:
for No. 1 bearing cap 29.5 N*m (301 kgf*cm, 22 ft.*lbf)
for No. 3 bearing cap 9.0 N*m (92 kgf*cm, 80 in.*lbf)
NO. 2 CAMSHAFT





Examine the front marks and numbers and check that the order is as shown in the illustration. Then install the bearing caps onto the cylinder head.
Apply a light coat of engine oil to the threads and under the heads of the bearing cap bolts.





Using several steps, uniformly tighten the 10 bearing cap bolts in the sequence shown in the illustration.
Torque:
for No. 1 bearing cap 29.5 N*m (301 kgf*cm, 22 ft.*lbf)
for No. 3 bearing cap 9.0 N*m (92 kgf*cm, 80 in.*lbf)

Camshaft Gear/Sprocket





While holding the camshaft with a wrench, tighten the camshaft timing sprocket set bolt.
Torque 54 N*m (551 kgf*cm, 40 ft.*lbf)





Exhaust Manifold