Curiosii for ever!: Car repair manuals for everyone.

Spark Plug: Testing and Inspection

INSPECT SPARK PLUG







a. Check the appearance.
1. Check the spark plug for any damage on its thread and insulator.

If there is any damage, replace the spark plug.




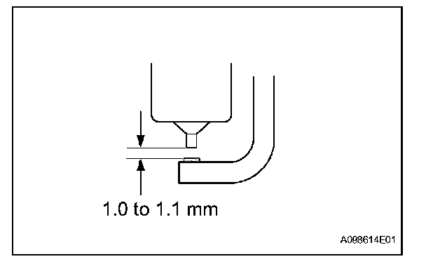
b. Check the electrode gap.

Standard electrode gap:
1.0 to 1.1 mm (0.039 to 0.043 in.) for new spark plug

Maximum electrode gap:
1.3 mm (0.051 in.) for used spark plug

If the electrode gap is greater than the maximum, replace the spark plug.