Curiosii for ever!
: Car repair manuals for everyone.
Home
>>
Scion
>>
2006
>>
xB L4-1.5L (1NZ-FE)
>>
Repair and Diagnosis
>>
Diagrams
>>
Exploded Views
>>
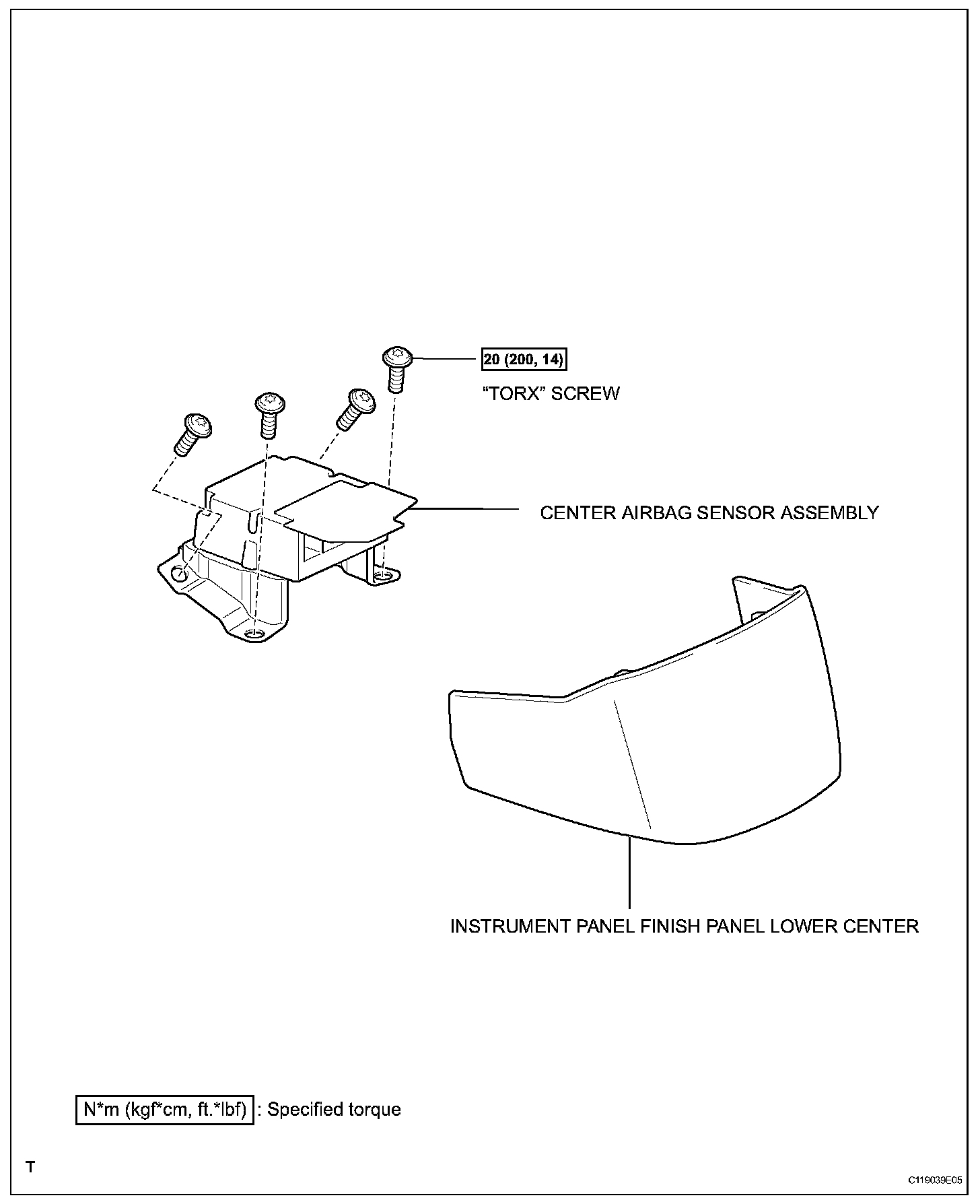
Impact Sensor
Impact Sensor
Center Airbag Sensor Assembly:
Front Airbag Sensor: