Curiosii for ever!
: Car repair manuals for everyone.
Home
>>
Scion
>>
2006
>>
xA L4-1.5L (1NZ-FE)
>>
Repair and Diagnosis
>>
Powertrain Management
>>
Transmission Control Systems
>>
Description and Operation
>>
System Diagram
System Diagram
SYSTEM DIAGRAM
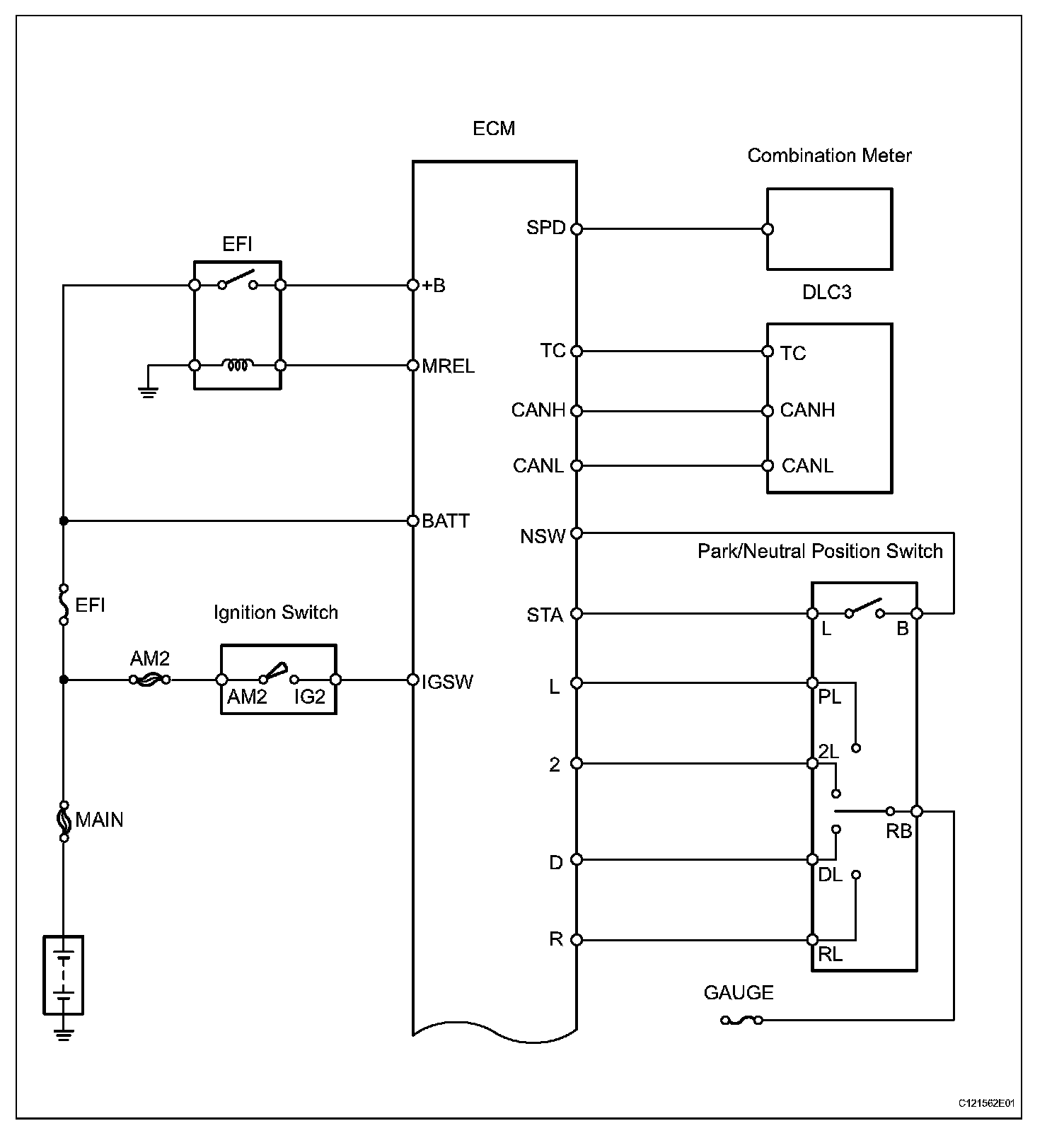
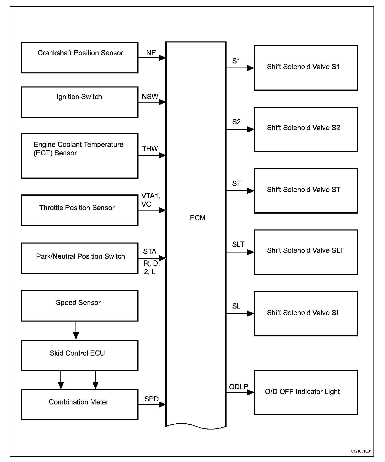
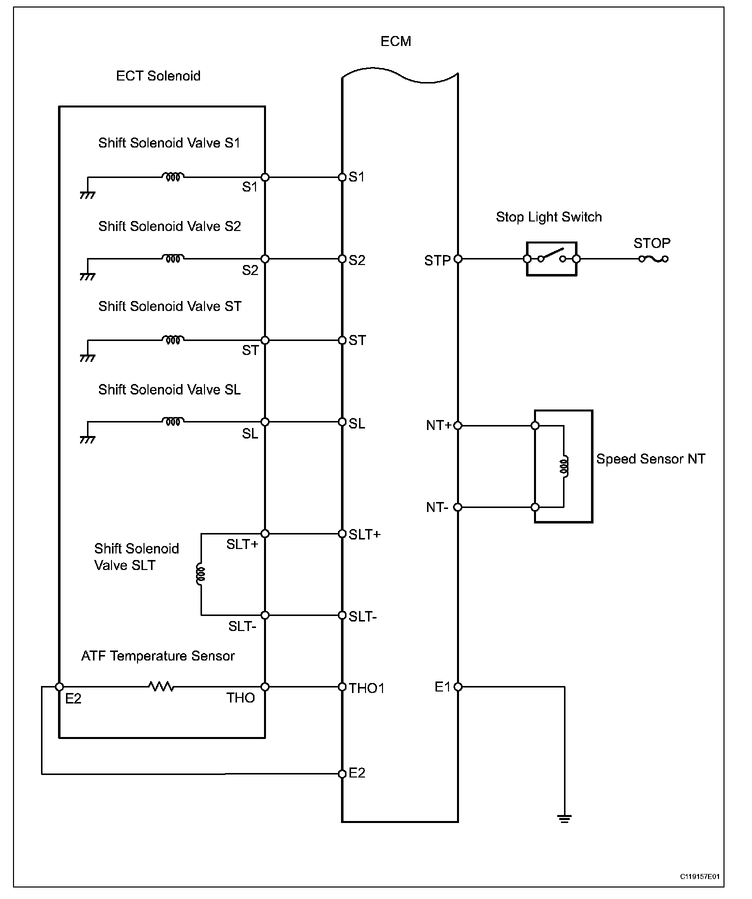
The configuration of the electronic control system in the U340E automatic transaxle is as shown in the chart.
SYSTEM DIAGRAM (PART 1):
SYSTEM DIAGRAM (PART 2):
SYSTEM DIAGRAM (PART 3):
SYSTEM DIAGRAM (PART 4):