Curiosii for ever!: Car repair manuals for everyone.

Main Relay (Computer/Fuel System): Testing and Inspection

ON-VEHICLE INSPECTION

1. DISCONNECT CABLE FROM NEGATIVE BATTERY TERMINAL

CAUTION: Wait at least 90 seconds after disconnecting the cable from the negative (-) battery terminal to prevent airbag and seat belt pretensioner activation.

2. REMOVE CIRCUIT OPENING RELAY (Marking: C/ OPN)
a. Remove the circuit opening relay from the instrument panel junction block.







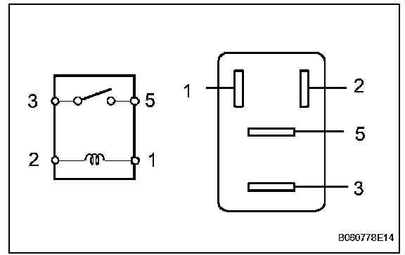
3. INSPECT CIRCUIT OPENING RELAY
a. Measure the resistance of the circuit opening relay.

If the result is not as specified, replace the circuit opening relay.

4. INSTALL CIRCUIT OPENING RELAY
5. CONNECT CABLE TO NEGATIVE BATTERY TERMINAL

6. PERFORM INITIALIZATION
a. Perform initialization.

NOTE: Certain systems needs to be initialized after disconnecting and reconnecting the cable from the negative (-) battery terminal.