Curiosii for ever!: Car repair manuals for everyone.

Front Wheel Alignment

FRONT WHEEL ALIGNMENT

ADJUSTMENT
1. INSPECT TIRE
a. Inspect tire.





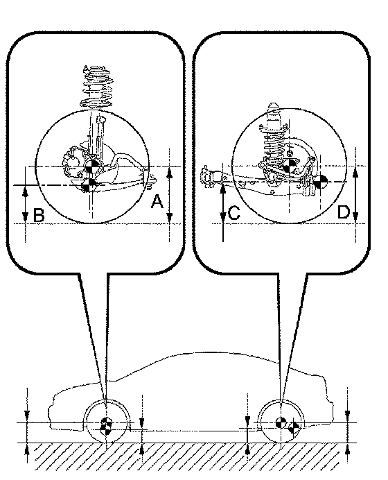
2. MEASURE VEHICLE HEIGHT

Standard vehicle height:





Standard vehicle height
Measuring points:
A: Ground clearance of front wheel center
B: Ground clearance of lower suspension arm front bolt center
C: Ground clearance of tie rod set bolt center
D: Ground clearance of rear wheel center

NOTICE: Before inspecting the wheel alignment, adjust the vehicle height to the specified value.

HINT: Bounce the vehicle at the corners to stabilize the suspension and inspect the vehicle height.





3. INSPECT TOE-IN

Standard toe-in:





Standard toe-in

HINT:
^ Measure "C - D" only when "A + B" cannot be measured.
^ If the toe-in is not within the specified range, adjust it at the rack ends.

4. ADJUST TOE-IN
a. Measure the thread lengths of the right and left rack ends.
Rack end length difference: 1.5 mm (0.059 inch) or less
b. Remove the rack boot set clips.
c. Loosen the tie rod end lock nuts.
d. Adjust the rack ends if the difference in thread length between the right and left rack ends is not within the specified range.
1. Extend the shorter rack end if the measured toe-in deviates toward the outer side.
2. Shorten the longer rack end if the measured toe-in deviates toward the inner side.
e. Turn the right and left rack ends in opposite directions an equal amount to adjust toe-in.

HINT: Try to adjust toe-in to the center of the specified range.





f. Make sure that the lengths of the right and left rack ends are the same.
Standard rack end length difference: 0 ± 1 mm (0.0039 inch)
g. Torque the tie rod ends lock nuts.
Torque: 74 Nm (755 kgf-cm, 55 ft. lbs.)

NOTICE: Temporarily tighten the lock nut while holding the hexagonal part of the steering rack ends so that the lock nut and the steering rack end do not turn together. Hold the width across flat of the tie rod end and tighten the lock nut.
h. Place the boots on the seats and install the clips.

HINT: Make sure that the boots are not twisted.





5. INSPECT WHEEL ANGLE
a. Turn the steering wheel fully to the left and right and measure the turning angle.

Standard wheel turning angle:





Standard wheel turning angle
If the right and left inside wheel angles differ from the specified range, check the right and left rack end lengths.





6. INSPECT CAMBER, CASTER AND STEERING AXIS INCLINATION
a. Put the front wheel on the center of the alignment tester.
b. Remove the center ornament.
c. Install the camber-caster-steering axis inclination gauge at the center of the axle hub or drive shaft.
d. Inspect the camber, caster and steering axis inclination.

Standard camber, caster and steering axis inclination:




Standard camber, caster and steering axis inclination:





Standard camber, caster and steering axis inclination

NOTICE:
^ Inspect while the vehicle is empty (without the spare tire or tools).
^ The maximum tolerance of right and left difference for the camber and caster is 45° or less.

e. Remove the camber-caster-steering axis inclination gauge and attachment.
f. Install the center ornament.
If the caster and steering axis inclination are not within the specified range after the camber has been correctly adjusted, recheck the suspension parts for damage and/or wear.
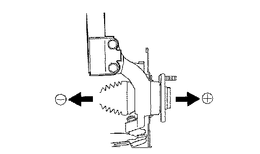
7. ADJUST CAMBER

HINT: After the camber has been adjusted, inspect the toe-in.

a. Remove the front wheel.





b. Remove the 2 nuts on the lower side of the shock absorber assembly front LH.
c. Clean the installation surfaces of the shock absorber assembly front LH and the steering knuckle.
d. Temporarily install the 2 nuts (Step A).





e. Fully push or pull the front axle hub in the direction of the required adjustment (Step B).
f. Tighten the nuts.
Torque: 240 Nm (2,450 kgf-cm, 177 ft. lbs.)
g. Install the front wheel.
Torque: 103 Nm (1,050 kgf-cm, 76 ft. lbs.)





h. Check the camber.
If the measured value is within the specified range, calculate the required adjustment amount using the formula below.
Camber adjustment amount:
Center of the specified range - Measured value
i. Check installed bolts combination. Select appropriate bolts from the table to adjust the camber within the specified range.

Standard selection table:





Standard selection table

Table (1): Move the axle toward positive side:





Table (1):
Move the axle toward positive side





The body and suspension may be damaged if the camber is not correctly adjusted according to the above table.

NOTICE: Replace the nut with a new one when replacing the bolt.

j. Repeat the steps mentioned above. At step (A), replace 1 or 2 selected bolts.

HINT: Replace 1bolt at a time when replacing 2 bolts.

Table (2): Move the axle toward negative side:





Table (2):
Move the axle toward negative side





The body and suspension may be damaged if the camber is not correctly adjusted according to the above table.

NOTICE: Replace the nut with a new one when replacing the bolt.

k. Replace 1 bolt at a time when replacing 2 bolts.