Curiosii for ever!: Car repair manuals for everyone.

Service Data





Cylinder Block Warpage
Maximum warpage 0.05 mm (0.0020 inch)





Cylinder Bore
Using a cylinder gauge, measure the cylinder bore diameter at positions A and B in the thrust and axial directions.
Standard diameter 75.000 to 75.133 mm (2.9528 to 2.9580 inch)
If the value obtained at step (b) or (c) is not within the range of the standard diameter, replace the cylinder block.





Piston Diameter
Using a micrometer, measure the piston diameter at right angles to the piston pin center line, and at a position 27 mm (1.06 inch) from the top of the piston head.
Piston diameter 74.945 to 74.955 mm (2.9506 to 2.9510 inch)
Using a caliper gauge, measure the piston pin hole diameter of the piston.
Piston pin hole diameter at 20°C (68°F) 18.013 to 18.016 mm (0.7092 to 0.7093 inch)





Piston Pin Oil Clearance
Using a micrometer, measure the piston pin diameter.
Piston pin diameter 18.001 to 18.004 mm (0.7087 to 0.7088 inch)
Subtract the piston pin diameter measurement from the piston pin hole diameter measurement.
Standard oil clearance 0.009 to 0.015 mm (0.0004 to 0.0006 inch)
Maximum oil clearance 0.050 mm (0.0020 inch)
If the clearance is greater than maximum, replace the bushing.
If necessary, replace both the piston and piston pin together.

Piston Oil Clearance
Standard oil clearance 0.045 to 0.068 mm (0.0018 to 0.0027 inch)
Maximum oil clearance 0.08 mm (0.0032 inch)
If the oil clearance is greater than maximum, replace all 4 pistons. If necessary, replace the cylinder block.

Piston Ring Groove Clearance





Standard ring groove clearance
If the clearance is not as specified, replace the piston.





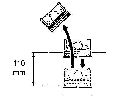
Piston Ring End Gap
Using a piston, push the piston ring a little beyond the bottom of the ring travel, 110 mm (4.33 inch) from the top of the cylinder block.





Using a feeler gauge, measure the end gap.





Standard end gap

Connecting Rod Sub-Assembly
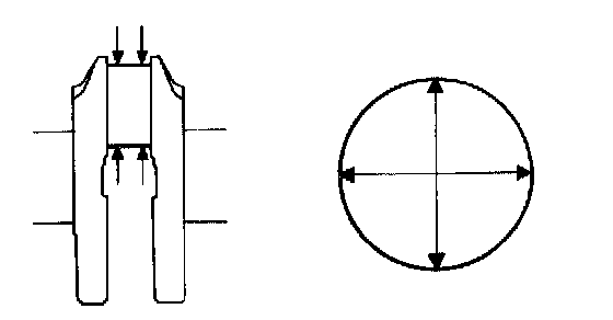
Using a caliper gauge, measure the internal diameter of the connecting rod.
Connecting rod inside diameter: 17.965 to 17.985 mm (0.7073 to 0.7081 inch)
If the diameter is greater than maximum, replace the connecting rod.





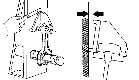
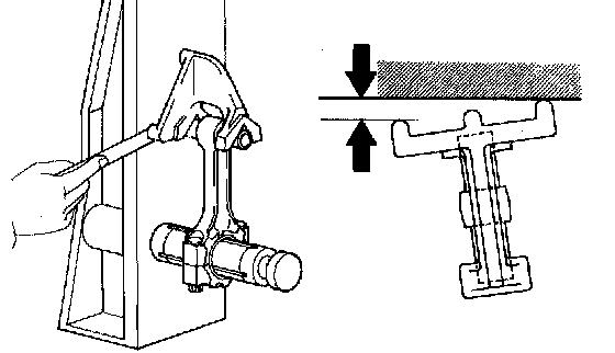
Using a rod aligner and feeler gauge, check the connecting rod alignment.
Check for misalignment.
Maximum misalignment: 0.05 mm (0.0020 inch) per 100 mm (3.94 inch)
If the misalignment is greater than maximum, replace the connecting rod assembly.





Check for twist.
Maximum twist: 0.05 mm (0.0020 inch) per 100 mm (3.94 inch)
If the twist is greater than maximum, replace the connecting rod assembly.





Connecting Rod Bolt
Using a vernier calipers, measure the tension portion diameter of the bolt.
Standard diameter 6.6 to 6.7 mm (0.260 to 0.264 inch)
Maximum diameter 6.4 mm (0.252 inch)
If the diameter is less than minimum, replace the bolt.





Crankshaft
Using a dial indicator and V-blocks, measure the circle runout as shown in the illustration.
Maximum circle runout 0.03 mm (0.0012 inch)
If the circle runout is greater than maximum, replace the crankshaft.





Using a micrometer, measure the diameter of each main journal as illustrated.
Diameter 45.988 to 46.000 mm (1.8106 to 1.8110 inch)
Calculate the taper and distortion of the main journal.
Maximum taper and distortion 0.02 mm (0.0008 inch)
If the taper and distortion are greater than maximum, replace the crankshaft.





Using a micrometer, measure the diameter of each crank pin as illustrated.
Diameter 39.992 to 40.000 mm (1.5745 to 1.5748 inch)
Calculate the taper and distortion of the crank pin.
Maximum taper and distortion 0.02 mm (0.0008 inch)
If the taper and distortion are greater than maximum, replace the crankshaft.





Timing Sprocket and Chain

Wrap the chain around the timing sprocket.
Using a vernier calipers, measure the timing sprocket diameter with the chain.
Standard sprocket diameter (w/ chain): 51.72 mm (2.0362 inch)
Minimum sprocket diameter (w/ chain): 50.5 mm (1.988 inch)

NOTICE: When measuring the diameter, vernier calipers must be in contact with the chain roller.

If the diameter is less than minimum, replace the chain and crankshaft.






Crankshaft Bearing Cap Set Bolt
Using vernier calipers, measure the tension portion diameter of the bolt.
Standard diameter 7.3 to 7.5 mm (0.287 to 0.295 inch)
Minimum diameter 7.2 mm (0.283 inch)
If the diameter is less than minimum, replace the bolt.