Curiosii for ever!: Car repair manuals for everyone.

Alignment

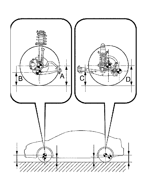
Front wheel alignment




Vehicle height
A-B 92 mm (3.62 inch)
D-C 63 mm (2.48 inch)
Toe-in (total) 0° ± 12' (0° ± 0.2°), 0 ± 2 mm (0 ± 0.08 inch)
Rack end length difference 1.5 mm (0.059 inch) or less
Wheel angle
Inside wheel
38°12' (36°12' - 40°12')
38.20° (36.20° - 40.20°)
Outside wheel: Reference
32°49'
32.82°
Camber -0°31' ± 45' (-0.52° ± 0.75°)
Right-left error 45' (0.75°) or less
Caster 3°02' ± 45' (3.03° ± 0.75°)
Right-left error 45' (0.75°) or less

Rear wheel alignment
Toe-in (total) 0°18' ± 12' (0.3° ± 0.2°), 3.0 ± 2.0 mm (0.12 ± 0.08 inch)
Camber -0°56' ± 30' (-0.9° ± 0.5°)
Right-left error 30' (0.5°) or less