Knock Sensor: Service and Repair
Knock Sensor Part 1:
Knock Sensor Part 2:
Knock Sensor Part 3:
Knock Sensor Part 4:
Knock Sensor Part 5:
KNOCK SENSOR
REPLACEMENT
NOTE: When disconnecting the battery terminal, initialize the following system after the terminal is reconnected.
System
Power window control system
Sliding roof system
1. DISCHARGE FUEL SYSTEM PRESSURE
2. DRAIN ENGINE COOLANT
3. DISCONNECT BATTERY NEGATIVE TERMINAL
4. REMOVE FRONT WIPER ARM HEAD CAP
5. REMOVE FR WIPER ARM LH
6. REMOVE FR WIPER ARM RH
7. REMOVE HOOD TO COWL TOP SEAL
8. REMOVE COWL TOP VENTILATOR LOUVER LH
9. REMOVE WIPER LINK ASSEMBLY
10. REMOVE COWL TOP PANEL SUB-ASSEMBLY OUTER
a. Remove the wire harness clamp.
b. Remove the 7 bolts, then remove the cowl top panel outer.
11. REMOVE COWL BODY MOUNTING BRACKET LOWER LH
a. Remove the bolt and clip, then remove cowl body mounting bracket lower.
12. REMOVE ENGINE COVER SUB-ASSEMBLY NO.1
13. REMOVE AIR CLEANER CAP SUB-ASSEMBLY
14. REMOVE THROTTLE BODY ASSEMBLY
15. REMOVE FUEL DELIVERY PIPE SUB-ASSEMBLY
16. REMOVE FUEL TUBE SUB-ASSEMBLY
a. Remove the fuel pipe clamp No. 1.
b. Pinch the retainer as illustrated, then pull the fuel tube connector out of the pipe.
NOTE:
- Remove any dirt and foreign objects on the fuel tube connector before performing this work.
- Do not allow any scratches or foreign objects on the parts when disconnecting, as the fuel tube connector has the O-ring that the seals the pipe.
- Perform this work by hand. Do not use any tools.
- Do not forcibly bend, twist or turn the nylon tube.
- Protect the disconnected part by covering it with a vinyl bag after disconnecting the fuel tube.
- If the fuel tube connector and pipe are stuck, push and pull to release them.
17. DISCONNECT HEATER WATER INLET HOSE A
a. Remove the hose clamp.
b. Remove the heater water inlet hose from the heater radiator unit and cylinder head.
18. DISCONNECT HEATER WATER OUTLET HOSE A(FROM HEATER UNIT)
a. Remove the heater water outlet hose from the heater radiator unit and water by-pass pipe.
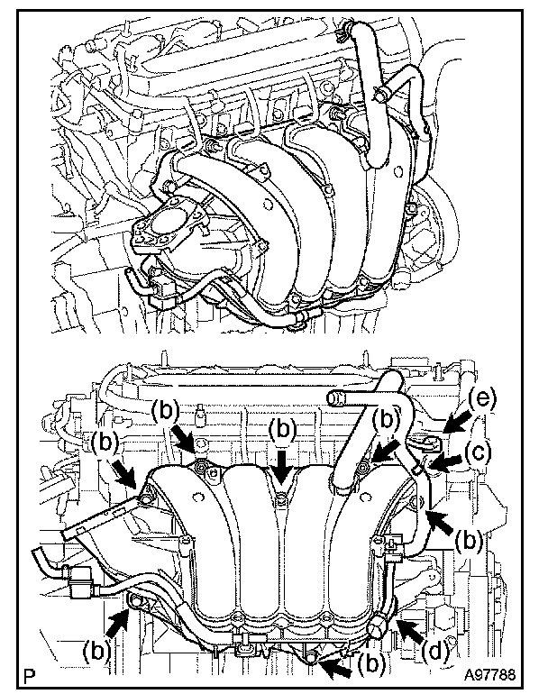
19. REMOVE INTAKE MANIFOLD
a. Disconnect the union to check valve hose from the brake booster.
b. Disconnect the camshaft timing oil control valve connector.
c. Remove the wire harness clamp.
d. Remove the union to check valve hose from the vacuum hose clamp.
e. Remove the 5 bolts and 2 nuts, then remove the intake manifold.
f. Remove the gasket from the intake manifold.
20. REMOVE INTAKE MANIFOLD INSULATOR NO.1
a. Remove the intake manifold insulator No. 1 from the cylinder block.
21. REMOVE KNOCK SENSOR
a. Disconnect the knock sensor connector.
b. Remove the nut, then remove the knock sensor.
22. INSTALL KNOCK SENSOR
a. Install the knock sensor with the nut.
Torque: 20 N.m (205 kgf.cm, 15 ft.lbf)
NOTE: Make sure that the knock sensor is in the correct direction when installing.
b. Connect the knock sensor connector.
23. INSTALL INTAKE MANIFOLD INSULATOR NO.1
a. Install the intake manifold insulator No. 1 onto the cylinder block.
24. INSTALL INTAKE MANIFOLD
a. Install a new gasket into the intake manifold.
b. Install the intake manifold with the 5 bolts and 2 nuts.
Torque: 30 N.m (305 kgf.cm, 22 ft.lbf)
c. Fit the union to check valve hose into the vacuum hose clamp.
d. Install the wire harness clamp.
e. Connect the camshaft timing oil control valve connector.
f. Connect the union to check valve hose to the brake booster.
NOTE: Make sure that the paint mark and hose clamp are at the correct angle when installing.
25. CONNECT HEATER WATER OUTLET HOSE A(FROM HEATER UNIT)
a. Install the heater water outlet hose to the water by-pass pipe and heater radiator unit.
NOTE: Make sure that the paint mark and hose clamp are at the correct angle when installing.
26. CONNECT HEATER WATER INLET HOSE A
a. Install the heater water inlet hose to the cylinder head and heater radiator unit.
NOTE: Make sure that the paint mark and hose clamp are at the correct angle when installing.
b. Install the hose clamp.
NOTE: Make sure that the paint mark and hose clamp are at the correct angle when installing.
27. INSTALL FUEL TUBE SUB-ASSEMBLY
a. Align the fuel tube connector with the pipe, then push the fuel tube connector until the retainer makes a "click" sound to connect the fuel tube to the pipe.
NOTE:
- Check that there are no scratching or foreign objects around the connected part of the fuel tube connector and pipe before performing this work.
- After connecting the fuel tube connector, check that the fuel tube connector and pipe are securely connected by pulling them.
28. INSTALL FUEL DELIVERY PIPE SUB-ASSEMBLY
29. INSTALL THROTTLE BODY ASSEMBLY
30. INSTALL AIR CLEANER CAP SUB-ASSEMBLY
31. INSTALL COWL BODY MOUNTING BRACKET LOWER LH
a. Install the cowl body mounting bracket lower with the bolt and clip.
Torque: 13 N.m (135 kgf.cm, 10 in.lbf)
32. INSTALL COWL TOP PANEL SUB-ASSEMBLY OUTER
a. Install the cowl top panel outer with the 7 bolts.
Torque: 13 N.m (135 kgf.cm, 10 in.lbf)
b. Install the wire harness clamp.
33. INSTALL WIPER LINK ASSEMBLY
34. CONNECT BATTERY NEGATIVE TERMINAL
Torque: 5.4 N.m (55 kgf.cm, 48 in.lbf)
35. ADD ENGINE COOLANT
36. CHECK FOR ENGINE COOLANT LEAKAGE
37. CHECK FOR FUEL LEAKAGE
38. INSTALL ENGINE COVER SUB-ASSEMBLY NO.1
39. INSTALL COWL TOP VENTILATOR LOUVER LH
40. INSTALL HOOD TO COWL TOP SEAL
41. INSTALL FR WIPER ARM RH
42. INSTALL FR WIPER ARM LH
43. INSTALL FRONT WIPER ARM HEAD CAP