Curiosii for ever!: Car repair manuals for everyone.

Overhaul

Generator Assy:





OVERHAUL

1. REMOVE GENERATOR PULLEY

SST 09820-63010 (09820-06010, 09820-06020)







a. Hold SST 1-A with a torque wrench, and tighten SST 1-B clockwise to the specified torque.

Torque: 39 Nm (400 kgf.cm, 29 ft.lbf)

NOTE: Check that SST is secured to the rotor shaft.




b. Clamp SST 2 in a vise.
c. Insert SST 1-A and B into SST 2, and attach the pulley nut to SST 2.




d. To loosen the pulley nut, turn SST 1-A to the direction shown in the illustration.

NOTE: To prevent damage to the rotor shaft, do not loosen the pulley nut more than a half turn.

e. Remove the generator from SST 2.




f. Turn SST 1-B, and remove SST 1-A and B.
g. Remove the pulley nut and pulley.




2. REMOVE REAR END COVER
a. Remove the nut and terminal insulator.
b. Remove the bolt, 3 nuts and plate terminal, and then remove the end cover.




3. REMOVE GENERATOR BRUSH HOLDER AND GENERATOR REGULATOR
a. Remove the brush holder cover from the brush holder.
b. Remove the 2 screws and brush holder.
c. Remove the 3 screws and generator regulator.




4. REMOVE GENERATOR HOLDER W/RECTIFIER
a. Remove the 4 screws and holder w/rectifier.




5. REMOVE GENERATOR RECTIFIER END FRAME
a. Remove the 4 rubbers insulator.
b. Remove the seal plate.
c. Remove the 4 nuts and clip code.




d. Using SST, remove the rectifier end frame.
SST 09286-46011

6. REMOVE GENERATOR ROTOR ASSY
a. Remove the generator washer from the rotor.
b. Remove the rotor from the drive end frame.

NOTE: Do not drop the rotor




7. INSPECT GENERATOR REGULATOR ASSY
a. Using an ohmmeter, check for continuity between terminals F and B.
Standard:
When the positive and negative poles between terminals F and B are exchanged, there is continuity in one way but no continuity in another way.
If the continuity in not as specified, replace the generator regulator.




b. Using an ohmmeter, check for continuity between terminals F and E.
Standard:
When the positive and negative poles between terminals F and E are exchanged, there is continuity in one way but no continuity in another way.
If the continuity is not as specified, replace the generator regulator.




8. INSPECT GENERATOR ROTOR ASSY
a. Inspect rotor for open circuit.
1. Using an ohmmeter, check that there is continuity between the slip rings.
Standard resistance: 2.1 to 2.5 Ohm at 20°C (68°F)
If there is no continuity, replace the rotor.




b. Inspect rotor for ground.
1. Using an ohmmeter, check that there is no continuity between the slip ring and rotor.
If there is continuity, replace the rotor.




c. Inspect slip rings.
1. Using vernier calipers, measure the slip ring diameter.
Standard diameter: 14.2 to 14.4 mm (0.559 to 0.567 in.)
Minimum diameter: 12.8 mm (0.504 in.)
If the diameter is less than minimum, replace the rotor.

d. Inspect the bearing.
1. Inspect the bearing is not rough or worn.
If necessary, replace the generator rotor.




9. INSPECT GENERATOR HOLDER W/RECTIFIER
a. Inspect the positive (+) rectifier.
1. Using an ohmmeter, connect one tester probe to the positive (+) terminal and the other to each rectifier terminal.
2. Reverse the polarity of the tester probes and repeat step (1).
3. Check that one shows continuity and the other shows no continuity.
If continuity is not as specified, replace the rectifier holder.




b. Inspect the negative (-) rectifier.
1. Using an ohmmeter, connect one tester probe to each negative (-) terminal and the other to each rectifier terminal.
2. Reverse the polarity of the tester probes and repeat step 1.
3. Check that one shows continuity and the other shows no continuity.
If continuity is not as specified, replace the rectifier holder.




10. INSPECT STATOR COIL
a. Inspect the stator coil for open circuit.
1. Using an ohmmeter, check that there is continuity between the coil leads.
If there is no continuity, replace the generator assy.




b. Inspect the stator for ground.
1. Using an ohmmeter, check that there is no continuity between the coil lead and drive end frame.
If there is continuity, replace the drive end frame.

c. Inspect the bearing.
1. Inspect the bearing is not rough or worn.
If necessary, replace the generator assy.




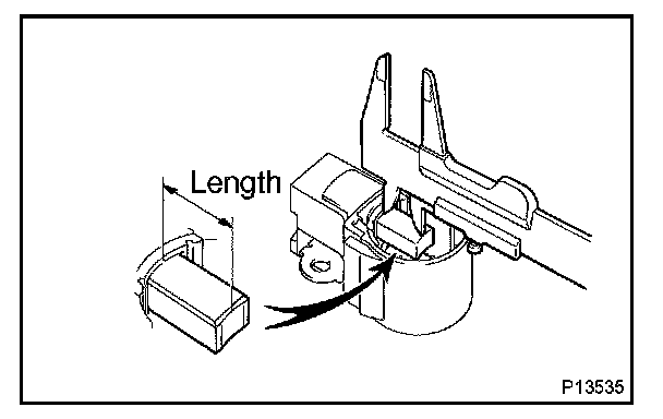
11. INSPECT BRUSH
a. Using vernier calipers, measure the exposed brush length.
Standard exposed length: 9.5 to 11.5 mm (0.374 to 0.453 in.)
Minimum exposed length: 4.5 mm (0.177 in.)
If the exposed length is less than minimum, replace the brush holder assembly.

12. INSTALL GENERATOR ROTOR ASSY
a. Install the generator rotor.
b. Install the generator washer to the rotor.




13. INSTALL GENERATOR RECTIFIER END FRAME
a. Using a 19 mm socket wrench and press, slowly press in the rectifier end frame.
b. Install the 4 nuts and clip code.

Torque:
4.5 Nm (46 kgf.cm, 40 in.lbf) for nut A
5.4 Nm (55 kgf.cm, 48 in.lbf) for nut B

c. Install the seal plate on the rectifier end frame.




d. Install the 4 rubber insulators on the lead wires.

NOTE: Be careful of the rubber insulator installation direction.

14. INSTALL GENERATOR HOLDER W/RECTIFIER
a. Install the rectifier holder while pushing it with the 4 screws.

Torque: 2.9 Nm (30 kgf.cm, 26 in.lbf)

15. INSTALL GENERATOR REGULATOR ASSY
a. Install the 3 screws and generator regulator.

Torque: 2.0 Nm (20 kgf.cm, 18 in.lbf)




16. INSTALL GENERATOR BRUSH HOLDER ASSY
a. Install the 2 screws and brush holder.

Torque: 2.0 Nm (20 kgf.cm, 18 in.lbf)

NOTE: Be careful of the holder installation direction.

b. Install the brush cover.

17. INSTALL REAR END COVER
a. Install the end cover and plate terminal with the bolt and 3 nuts.

Torque:
3.9 Nm (40 kgf.cm, 34 in.lbf)
for bolt
4.4 Nm (45 kgf.cm, 39 in.lbf) for nut

b. Install the terminal insulator with the nut.

Torque: 3.6 Nm (37 kgf.cm, 32 in.lbf)

18. INSTALL GENERATOR PULLEY
SST 09820-63010 (09820-06010, 09820-06020)




a. Install the pulley to the rotor shaft by tightening the pulley nut by hand.




b. Hold SST 1-A with a torque wrench, and tighten SST 1-B clockwise to the specified torque.

Torque: 39 Nm (400 kgf.cm, 29 ft.lbf)

NOTE: Check that SST is secured to the pulley shaft.




c. Clamp SST 2 in a vise.
d. Insert SST 1-A and B into SST 2, and attach the pulley nut to SST 2.




e. Tighten the pulley nut, turn SST 1-A to the direction shown in the illustration.

Torque: 111 Nm (1,125 kgf.cm, 81 ft.lbf)

f. Remove the generator from SST 2.




g. Turn SST 1-B, and remove SST 1-A and B.
h. Turn the pulley, and check that the pulley moves smoothly.