Curiosii for ever!: Car repair manuals for everyone.

System Specifications

SERVICE DATA





Cylinder Head Flatness
a. Using a precision straight edge and a feeler gauge, measure the surface contacting the cylinder block and the manifolds for warpage.
Maximum warpage:
Cylinder block surface 0.05 mm (0.0020 inch)
Intake manifold surface 0.10 mm (0.0039 inch)
Exhaust manifold surface 0.10 mm (0.0039 inch)






Cylinder Head Set Bolt
a. Using vernier calipers, measure the length of head bolts from the seat to the end.
Standard bolt length: 142.8 to 144.2 mm (5.622 to 5.677 inch)
Maximum bolt length: 147.1 mm (5.791 inch)
If the length exceeds maximum, replace the bolt.


TIGHTENING SPECIFICATIONS

Cylinder Head Sub-assy

HINT: The cylinder head bolts are tightened in 2 successive steps.

a. Apply a continuous bead of seal packing (Diameter 3.5 to 4.5 mm (0.1378 to 0.1772 inch)) as shown in the illustration.

NOTICE:
^ Remove any oil from the contact surface.
^ Install the cylinder head within 3 minutes after applying seal packing.

b. Apply a light coat of engine oil on the threads of the cylinder head bolts.





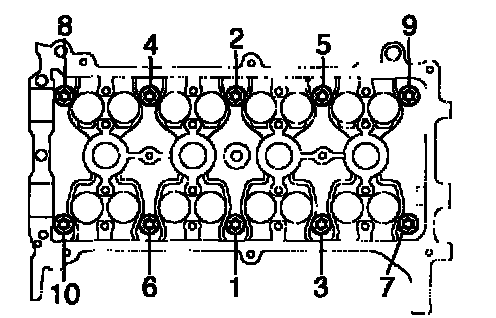
c. Using several steps, install and tighten the 10 cylinder head bolts and plate washers uniformly with an 8 mm bi hexagon wrench in the sequence shown in the illustration.
Torque: 29 Nm (300 kgf-cm, 22 ft. lbs.)





d. Mark the front of the cylinder head bolt with paint.
e. Retighten the cylinder head bolts by additional 90° and one more additional 90° as shown in the illustration.
f. Check that the paint mark is now at 180° opposite to the front.

Camshaft
a. Apply a light coat of engine oil on the camshaft journals.
b. Place the camshaft on the cylinder head with the timing mark on the camshaft timing gear facing upward.





c. Examine the front marks and numbers and tighten the bolts in the sequence shown in the illustration.
Torque: 13 Nm (129 kgf-cm, 9.4 ft. lbs.)

NOTICE: Tighten each bolt uniformly keeping the camshaft level.

NO.2 Camshaft
a. Apply a light coat of engine oil on the camshaft journals.
b. Place the camshaft on the cylinder head with the timing mark on the camshaft timing gear facing upward.





c. Examine the front marks and numbers and tighten the bolts in the sequence shown in the illustration.
Torque: 13 Nm (129 kgf-cm, 9.4 ft. lbs.)

NOTICE: Tighten each bolt uniformly keeping the camshaft level.

d. Install the bearing cap No.1.
Torque: 23 Nm (235 kgf-cm, 17 ft. lbs.)





Intake Manifold
a. Install a new gasket to the intake manifold.
b. Install the intake manifold with the 3 bolts and 2 nuts. Using several steps, tighten the bolts and nuts uniformly in the sequence shown in the illustration.
Torque: 30 Nm (306 kgf-cm, 22 ft. lbs.)





Camshaft Timing Gear Assy
a. Put the camshaft timing gear assembly and the camshaft together with the straight pin off the groove.
b. Turn the camshaft timing gear assembly clockwise while pushing it lightly towards the camshaft. Push further at the position where the pin fits into the groove.

NOTICE: Be careful not to turn the camshaft timing gear to the retard angle (to the right).

c. Check that there is no clearance between the gear fringe and the camshaft.
d. Tighten the fringe bolt with the camshaft timing gear fixed.
Torque: 64 Nm (653 kgf-cm, 47 ft. lbs.)
e. Check that the camshaft timing gear assembly can move to the retard angle (to the right) and is locked at the most retarded position.





Crankshaft Damper Sub-Assy
a. Align the pin hole of the crankshaft damper with the pin position and install the crankshaft damper.
b. Using SST, install the pulley bolt.
SST 09330-00021, 09213-58012 (91111-50845)
Torque: 128 Nm (1,305 kgf-cm, 95 ft. lbs.)





Exhaust Manifold
a. Using several steps, install a new exhaust manifold gasket and exhaust manifold with the 3 bolts and 2 nuts in the sequence shown in the illustration.
Torque: 27 Nm (275 kgf-cm, 20 ft. lbs.)