Curiosii for ever!: Car repair manuals for everyone.

Basic Repair Hints

BASIC REPAIR HINT




a. HINTS ON OPERATIONS

b. JACKING UP AND SUPPORTING VEHICLE
1. Care must be taken when jacking up and supporting the vehicle. Be sure to lift and support the vehicle at the proper locations.




c. PRECOATED PARTS
1. Precoated parts such as bolts, nuts, etc. are coated with a seal lock adhesive at the factory.
2. If a precoated part is retightened, loosened or caused to move in any way, it must be recoated with the specified adhesive.
3. When reusing precoated parts, clean off the old adhesive and dry the part with compressed air. Then apply the specified seal lock adhesive to the bolt, nut or threads.

NOTE: Check the torque with the lower limit value of the torque tolerance.

4. Depending on the seal lock agent to be applied, there may be cases where it is necessary to leave it for a specified time until it hardens.

d. GASKETS
1. When necessary, use a sealer on gaskets to prevent leaks.

e. BOLTS, NUTS AND SCREWS
1. Carefully follow all the specifications for tightening torques. Always use a torque wrench.







f. FUSES
1. When replacing fuses, be sure that a new fuse has the correct amperage rating. DO NOT exceed the rating, or use one with a lower rating.

Part 1:




Part 2:




g. CLIPS
1. The removal and installation methods of typical clips used in body parts are shown in the table.

HINT: If the clip is damaged during the a procedure, always replace it with a new clip.

h. REMOVAL AND INSTALLATION OF VACUUM HOSES




1. To disconnect vacuum hoses, pull them by holding the end of the hose, not the middle.




2. When disconnecting vacuum hoses, use tags to identify where they should be reconnected.
3. After completing the job, double check that the vacuum hoses are properly connected. The label under the hood shows the proper layout.
4. When using a vacuum gauge, never force the hose onto a connector that is too large. Use a step down adapter for adjustment. Once the hose has been stretched, it may leak air.

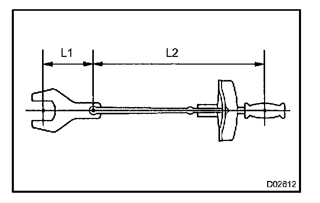
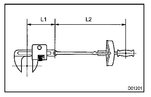
i. TORQUE WHEN USING TORQUE WRENCH WITH EXTENSION TOOL







1. When the torque wrench is combined with SST or an extension tool to extend the length, and you tighten until the torque wrench reads the specified torque value, the actual torque becomes excessive.
2. In this, only the specified torque is described. In case of using SST or extension tool, calculate the reading of the torque wrench by the following formula.




3. Formula: T'=T x L2/(L1 + L2)