Curiosii for ever!: Car repair manuals for everyone.

Control Module HVAC: Testing and Inspection







INSPECT AIR CONDITIONER AMPLIFIER ASSY
a. Disconnect the connector from A/C amplifier and inspect the wire harness side, as shown in the chart.
If the circuit is as not specified, replace the A/C amplifier with a new one. If the circuit is as specified, inspect the circuits connected to other parts.










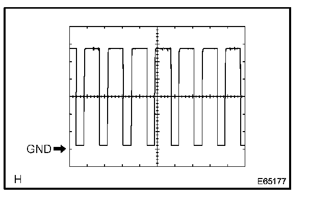
b. Connect the connector to A/C amplifier and inspect wire harness side connector from the back side, as shown in the illustration.
If the circuit is not as specified, replace the A/C amplifier with a new one. If the circuit is as specified, inspect the circuits connected to other parts.







Reference







Reference