Curiosii for ever!: Car repair manuals for everyone.

Control Valve Body Cover Replacement




Control Valve Body Cover Replacement

Removal Procedure

1. Remove the front bumper fascia. Refer to Front Bumper Fascia Replacement (Front Bumper Fascia Replacement).
2. Remove the air conditioning (A/C) condenser. Refer to Air Conditioning Condenser Replacement (Service and Repair).
3. Remove the radiator and coolant fan as an assembly. Refer to Radiator Replacement (Service and Repair).
4. Remove the battery tray assembly. Refer to Battery Tray Replacement (Service and Repair).
5. Place a drain pan under the transmission.




6. Remove the transmission vent hose (1) from the control valve body cover.





Note: Be careful not to damage the control valve body cover and transmission case.

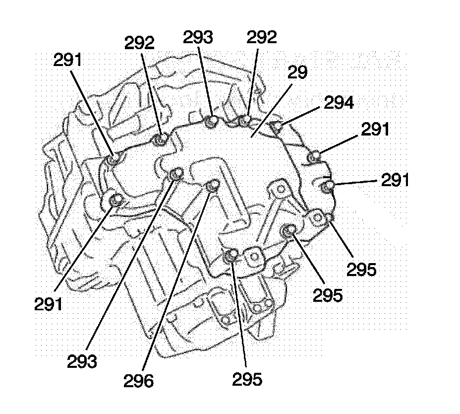
7. Remove the 13 bolts and the control valve body cover (29).
If needed, use a plastic hammer to loosen cover.
8. Clean the sealing surfaces.

Installation Procedure





Note: Be careful that no oil is on the contacting surfaces.

1. Remove any gasket material on the contacting surfaces of the control valve body cover (29) and transmission case assembly.
Wipe off any oil on the contacting surfaces.
2. Apply a 3 mm (1/8 in) bead of GM P/N 89020326 (Canadian P/N 89021188) to the control valve body cover (29) as shown.




3. Install the control valve body cover (29) onto the transmission case assembly.
4. Install threadlocker GM P/N 12345382 (Canadian P/N 10953489) to the threads of the control valve body cover bolts.
5. Install the 13 control valve body cover bolts.





Caution: Refer to Fastener Caution (Fastener Caution).

6. Tighten the control valve body cover bolts.

Tighten the bolts to 19.6-27.4 Nm (14.46-20.21 lb ft).




7. Connect the vent hose (1).
8. Install the radiator and coolant fan assembly. Refer to Radiator Replacement (Service and Repair).
9. Install the A/C condenser. Refer to Air Conditioning Condenser Replacement (Service and Repair).
10. Install the front bumper fascia. Refer to Front Bumper Fascia Replacement (Front Bumper Fascia Replacement).
11. Recharge the A/C system. Refer to Refrigerant Recovery and Recharging (Refrigerant Recovery and Recharging).
12. Install the battery tray assembly. Refer to Battery Tray Replacement (Service and Repair).
13. Fill the transmission. Refer to Fluid Capacity Specifications (Capacity Specifications) and Transmission Fluid Check (Transmission Fluid Check).