Curiosii for ever!: Car repair manuals for everyone.

Front Lower Control Arm Bushing Replacement - Front



Front Lower Control Arm Bushing Replacement - Front

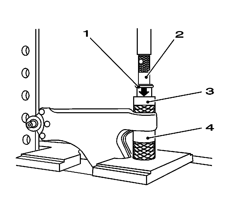
Special Tools

KM-508-A /KM-508-A-2/KM-508-A-3 Control Arm Bushing Remover/Installer


Removal Procedure


Important: In general, both damping bushings must be replaced in lower control arm.


1. Remove the lower control arm. Refer to Lower Control Arm Replacement (Service and Repair) .




2. Press the front damping bushing out with KM-508-A KM-508-A-1 (1) and (2).



Installation Procedure

1. Coat the front damping bushing (1) and inside of tool KM-508-A and lower control arm with soap solution before pressing in.
2. Press in the front damping bushing with KM-508-A (3), KM-508-A (2) and KM-508-A (4).




3. Install the lower control arm. Refer to Lower Control Arm Replacement (Service and Repair) .