Curiosii for ever!: Car repair manuals for everyone.

Piston: Service and Repair



Piston, Connecting Rod, and Bearing Replacement

Removal Procedure





1. Remove the cylinder head. Refer to Cylinder Head Replacement (Service and Repair) .
2. Remove the oil pan. Refer to Oil Pan Replacement (Service and Repair) .
3. Install the torsional vibration damper bolt into the crankshaft and set pistons 1 and 4 to bottom dead center (BDC) in the direction of engine rotation.

Important: Note cylinder sequence.


4. Identify the con-rod with con-rod bearing cover (1).




5. Remove pistons 1 and 4.

* Remove the 2 con-rod bearing caps (1).
* Remove the 4 bolts.





6. Push the 2 pistons with con-rods out of the cylinder bore.
7. Lower the vehicle.

Important: The shear surfaces of the con-rod and the con-rod bearing cover form a unique fit and must not be swapped or damaged. Do not lay down on the shear surfaces.


8. Remove pistons 1 and 4.
9. Raise the vehicle.
10. Turn the crankshaft on the torsional vibration balancer through 180 degrees in the direction of rotation of engine.





Important: Note cylinder sequence.


11. Identify the con-rod with con-rod bearing cover (1).




12. Remove pistons 2 and 3.

* Remove the 2 con-rod bearing caps (1).
* Remove the 4 bolts.





13. Push the 2 pistons with con-rods out of the cylinder bore.
14. Lower the vehicle.

Important:
* The shear surfaces of the con-rod and the con-rod bearing cover form a unique fit and must not be swapped or damaged. Do not lay down on the shear surfaces.

* Clean and visually inspect all components.



15. Remove pistons 2 and 3.





Important: Observe correct fitting position, observe alignment.


16. Remove the con-rod bearing mounting clips (1, 2).
Visually inspect the components.



Measurement Procedure





1. Measure the pistons.

* Measure the 4 piston diameters with the micrometer gauge.
* Place the micrometer at 90 degrees offset to the piston pin axis and 14.5 mm from the lower edge.





2. Position the internal measuring device.

* Assemble the internal measuring device so that span is greater than size of piston.
* Attach the dial gauge to the internal measuring device.
* Adjust the internal measuring device to the size of the piston.






Important: The needle turning point corresponds to the actual piston measurement.


3. Determine the turning point, zero scale.




4. Measure the cylinder bores.

* Insert the internal measuring device into cylinder bores.
* Measure crosswise in 3 planes.
* Tip back and forth to determine the needle turning point.
* The difference between "Scale zero" and the turning point of the needle is the value of the running play.
* Note the values.





5. Nominal/actual value comparison

* The wear is determined on the basis of the largest measurement of the measurements 1 to 6.
* Piston size + permissible clearance = cylinder diameter at this measuring point.
* Maximum measuring plane dimension - smallest measuring plane dimension = cylinder ovality of this measuring plane.

6. Remove the internal measuring device.



Installation Procedure





1. Install the con-rod bearing clips.

* In the con-rod and con-rod bearing cover.
* Wet the con-rod bearing clips with engine oil.

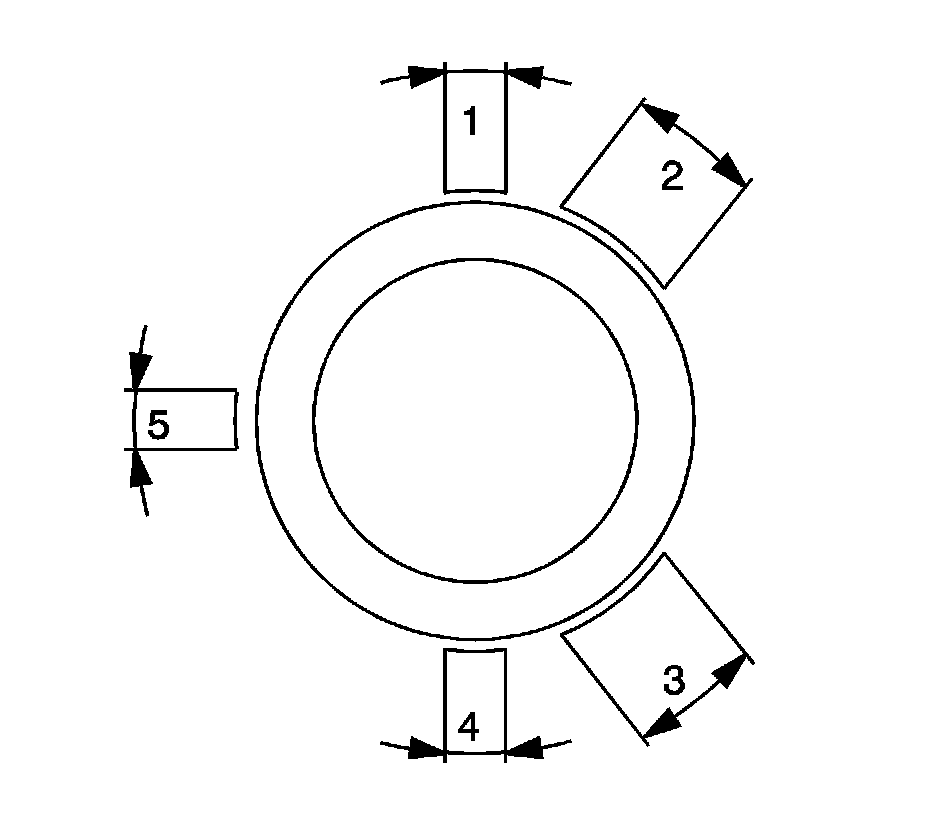
2. Set the piston ring joint, piston 2.

* First piston ring (right-hand ring) in position (1)
* Second piston ring (minute ring) in position (4)
* Interim ring of oil scraper ring in position (5), steel band rings of oil scraper ring in position (2 and/or 3)





3. Install piston 2.

* Wet the piston and cylinder bore with engine oil.

Important: Arrow (1) on piston head points to the engine timing side, bead (2) on con-rod points to the transmission side of the engine.


* Force the piston rings together with the piston ring tensioning belt.
* Push in the piston.





4. Set the piston ring joint, piston 3.

* First piston ring (right-hand ring) in position (1)
* Second piston ring (minute ring) in position (4)
* Interim ring of oil scraper ring in position (5), steel band rings of oil scraper ring in position (2 and/or 3)





5. Piston 3, install

* Wet the piston and cylinder bore with engine oil.

Important: Arrow (1) on piston head points to engine timing side, bead (2) on con-rod points to transmission side of engine.


* Force piston rings together with piston ring tensioning belt.
* Push in the piston.

6. Raise the vehicle.




7. Install con-rod bearing covers 2 and 3 (1).

* Wet the con-rod bearing journal with engine oil.

Notice: Refer to Fastener Notice (Fastener Notice) .

* Renew the bolts.

Tighten the 4 bolts to 35 N.m (26 lb ft) plus 45 degrees plus 15 degrees.


8. Turn the crankshaft on the torsional vibration balancer through 180 degrees in the direction of rotation of engine.
9. Lower the vehicle.




10. Set the piston ring joint, piston 1.

* First piston ring (right-hand ring) in position (1)
* Second piston ring (minute ring) in position (4)
* Interim ring of oil scraper ring in position (5), steel band rings of oil scraper ring in position (2 and/or 3)





11. Piston 1, install

* Wet the piston and cylinder bore with engine oil.

Important: Arrow (1) on piston head points to engine timing side, bead (2) on con-rod points to transmission side of engine.


* Force the piston rings together with the piston ring tensioning belt.
* Push in the piston.





12. Set the piston ring joint, piston 4.

* First piston ring (right-hand ring) in position (1)
* Second piston ring (minute ring) in position (4)
* Interim ring of oil scraper ring in position (5), steel band rings of oil scraper ring in position (2 and/or 3)





13. Piston 4, install

* Wet the piston and cylinder bore with engine oil.

Important: Arrow (1) on piston head points to the engine timing side, bead (2) on con-rod points to the transmission side of engine.


* Force the piston rings together with the piston ring tensioning belt.
* Push in the piston.

14. Raise the vehicle.





Important: Inspect markings on parts.


15. Install con-rod bearing covers 1 and 4 (1).

* Wet the con-rod bearing journal with engine oil.
* Renew the bolts.

Tighten the 4 bolts to 35 N.m (26 lb ft) plus 45 degrees plus 15 degrees.

* Set the crankshaft in the direction of the engine rotation to 60 degrees before OT.

16. Install the oil pan. Refer to Oil Pan Replacement (Service and Repair) .
17. Install the cylinder head. Refer to Cylinder Head Replacement (Service and Repair) .