Curiosii for ever!: Car repair manuals for everyone.

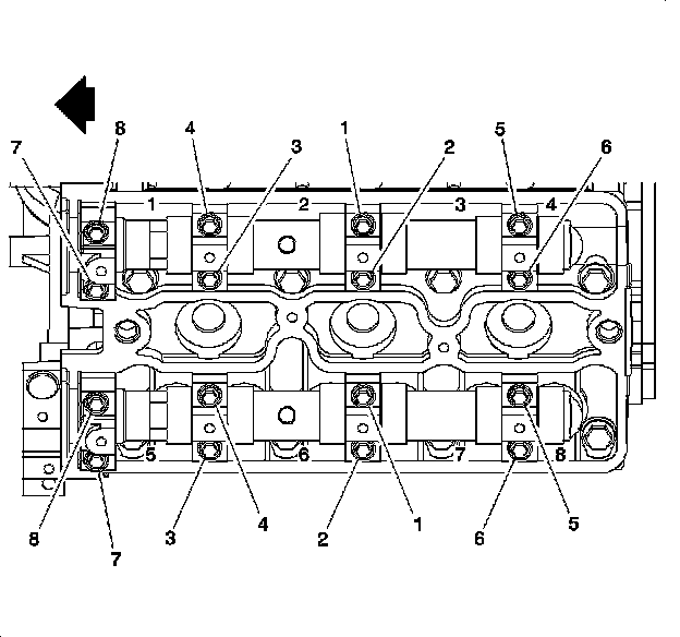
Cylinder Head Assembly

Cylinder Head Bolt





^ First Pass 25 Nm (18 ft. lbs.)
^ Second Pass 90 degrees
^ Third Pass 90 degrees
^ Fourth Pass 90 degrees
^ Final Pass 15 degrees

Cylinder head bolts are not reusable

Maximum Distortion (Length)
0.05/100 mm (0.0020/3.937 inch)

Intake Manifold Bolt 20 Nm (15 ft. lbs.)





Camshaft Bearing Cap Bolt 8 Nm (71 inch lbs.)

Camshaft Sprocket Bolt
^ First Pass 50 Nm (37 ft. lbs.)
^ Second Pass 60 degrees
^ Final Pass 15 degrees

Exhaust Manifold Nut 20 Nm (15 ft. lbs.)