Curiosii for ever!: Car repair manuals for everyone.

Ignition System: Testing and Inspection



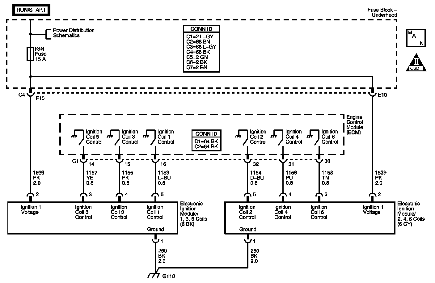
ELECTRONIC IGNITION (EI) SYSTEM DIAGNOSIS

CIRCUIT DESCRIPTION




The ignition system uses a ignition control module (ICM) for each bank. The ICMs consist of a controller and ignition coils. The ICMs are mounted in the center of each camshaft cover with short boots connecting the coils to the spark plugs. The engine control module (ECM) primarily uses engine speed and position information from the crankshaft (CKP) and camshaft position (CMP) sensors to control the sequence, dwell, and timing of the spark. The ECM can command each ignition coil ON/OFF by grounding the control circuit of the ignition coil. The control circuits are pulse width modulated (PWM) in order to precisely control the spark events.

TEST

Steps 1-10:




Steps 11-21: