Curiosii for ever!: Car repair manuals for everyone.

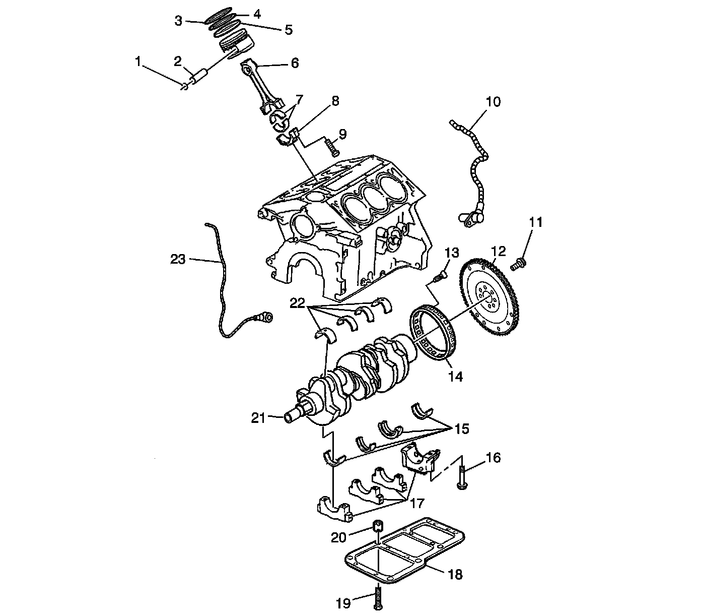
Crankshaft/Pistons Components



Crankshaft/Pistons Components





1 - Piston Pin Retaining Clip
2 - Piston Pin
3 - Upper Compression Ring
4 - Lower Compression Ring
5 - Oil Control Rings
6 - Connecting Rod
7 - Connecting Rod Bearing
8 - Connecting Rod Cap
9 - Connecting Rod Bolt
10 - Crankshaft Sensor
11 - Flywheel Bolt
12 - Flywheel
13 - Crankshaft Sensor Reluctor Ring Bolt
14 - Crankshaft Sensor Reluctor Ring
15 - Crankshaft Lower Main Bearings
16 - Crankshaft Main Bearing Cap Bolt
17 - Crankshaft Main Bearing Caps
18 - Crankshaft Bearing Bridge
19 - Crankshaft Bearing Bridge Bolt
20 - Crankshaft Bearing Bridge Adjusting Sleeve
21 - Crankshaft
22 - Crankshaft Upper Main Bearings
23 - Left Knock Sensor