Curiosii for ever!: Car repair manuals for everyone.

Timing Chain: Service and Repair

The content of this article reflects the changes called out by TSB - 02-03-08-006.

Timing Chain, Sprockets, and/or Tensioner Replacement

Removal

1. Disconnect negative battery cable.
2. Raise and support the vehicle.
3. Remove the engine timing cover.

Important:
The timing chain has two matching colored links and one uniquely colored link.





4. Rotate the engine until the crankshaft sprocket mark aligns with the matching colored link (2) at the 5 o'clock position.
5. Lower the vehicle.
6. Remove the camshaft cover.





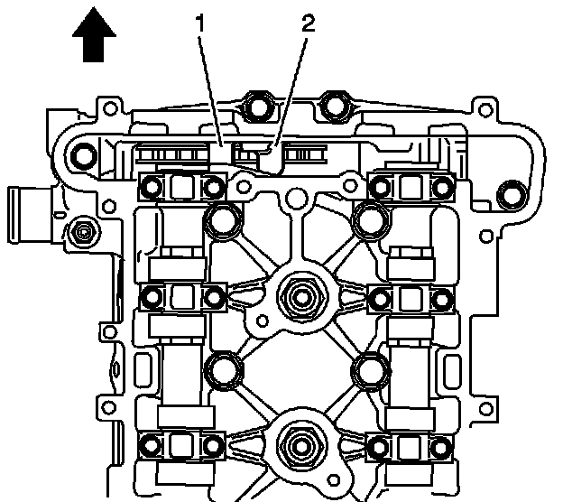
7. Ensure that the INT diamond on the intake camshaft sprocket is aligned with the uniquely colored link (1) at the 2 o'clock position.





8. Ensure that the EXH triangle on the exhaust camshaft sprocket is aligned with the matching colored link (3).





9. Remove the timing chain tensioner.





10. Remove the fixed timing chain guide access plug.





11. Remove the fixed timing chain guide.





12. Remove the upper timing chain guide.





13. Use a 24 mm wrench to hold the camshaft from turning.





14. Remove the exhaust camshaft sprocket bolt and discard.
15. Remove the exhaust camshaft sprocket.





16. Remove the timing chain tensioner guide.





17. Remove the intake camshaft sprocket bolt and discard.
18. Remove the intake camshaft sprocket.
19. Remove the timing chain through the top of the cylinder head.





20. Remove the crankshaft sprocket.





21. Remove the oil nozzle and bolt.

Installation





1. Install the oil nozzle and bolt. Tighten the Timing Chain Oil Nozzle Bolt to 10 N.m (89 in-lbs).





2. Install the crankshaft sprocket with timing mark at the 5 o'clock position.





3. Lower the timing chain through the opening in the top of the cylinder head. Carefully ensure that the chain goes around both sides of the cylinder block bosses (1, 2).





4. Install the intake camshaft sprocket with the INT diamond at the 2 o'clock position.

Important:
Always install NEW sprocket bolts.

5. Hand tighten a NEW intake camshaft sprocket bolt.
6. Route the timing chain around the crankshaft sprocket with the matching colored link aligning with the timing mark.
7. Route the timing chain around the intake camshaft sprocket with the uniquely colored link (1) aligning with the INT diamond.





8. Install the timing chain tensioner guide through the opening in the top of the cylinder head. Tighten the timing chain tensioner guide bolt to 10 N.m (89 lb in).





9. Install the exhaust camshaft sprocket with the timing chain matching colored link (3) at EXH triangle aligned at the 10 o'clock position.





10. Use a 24 mm wrench to rotate the camshaft slightly, until exhaust sprocket aligns with the camshaft.

Important:
Always install NEW sprocket bolts.

11. Hand tighten the NEW exhaust camshaft sprocket bolt.





12. Install the fixed timing chain guide. Tighten the fixed timing chain bolts to 10 N.m (89 lb in).





13. Apply sealant, Saturn P/N 21485277 (in Canada, 10953489) compound to thread and install the timing chain guide bolt access hole plug. Tighten the chain guide plug to 40 N.m (30 lb ft).





14. Install the timing chain upper guide. Tighten the timing chain upper guide bolts to 10 N.m (89 lb in).
15. Inspect the timing chain tensioner. If the timing chain tensioner, 0-ring seal, or washer is damaged, replace the timing chain tensioner.





16. Measure the timing chain tensioner assembly from end to end. A new tensioner should be supplied in the fully compressed non-active state. A tensioner in the compressed state will measure 72 mm (2.83 in) from end to end (refer to illustration [a]). A tensioner in the active state will measure 85 mm (3.35 in) from end to end (refer to illustration [a]).





17. If the timing chain tensioner is not in the compressed state, perform the following steps:
A. Remove the piston assembly from the body of the timing chain tensioner by pulling it out.
B. Install the J 45027-2 (2) into a vise.
C. Install the notch end of the piston assembly into the J 45027-2 (2).
D. Using the J 45027-1(1), turn the ratchet cylinder into the piston.

18. Inspect the bore of the tensioner body for dirt, debris, and damage. If any damage appears, replace the tensioner. Clean dirt or debris out with a lint free cloth.

19. Install the compressed piston assembly back into the timing chain tensioner body until it stops at the bottom of the bore. Do not compress the piston assembly against the bottom of the bore. If the piston assembly is compressed against the bottom of the bore, it will activate the tensioner, which will then need to be reset again.





20. At this point, the tensioner should measure approximately 72 mm (2.83 in) from end to end (refer to illustration [a]). If the tensioner does not read 72 mm (2.83 in) from end to end (refer to illustration [a]), repeat steps A through D.





21. Install the timing chain tensioner. Tighten the timing chain tensioner to 75 N.m (55 lb ft).
22. Use a suitable tool with a rubber tip on the end. Feed the tool down through the camshaft drive chain to rest on the timing chain. Then give a sharp jolt diagonally downwards to release the tensioner.





23. Use a 24 mm wrench to hold the camshaft. Tighten the NEW camshaft bolts to 85 N.m (63 lb ft) plus 30 degrees.

24. Install the camshaft cover.
25. Raise and support the vehicle.
26. Install the engine front cover.
27. Lower the vehicle.
28. Connect negative battery cable.