Curiosii for ever!
: Car repair manuals for everyone.
Home
>>
Saturn
>>
2000
>>
LS L4-2.2L VIN F
>>
Repair and Diagnosis
>>
Powertrain Management
>>
Fuel Delivery and Air Induction
>>
Fuel Tank Unit
>>
Description and Operation
>>
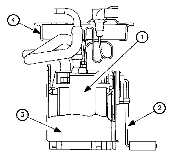
Fuel Pump Module
Fuel Pump Module
The fuel pump module is sealed to the
fuel tank
with a retaining ring and O-ring seal. The module consists of:
(1)
Fuel Pump
(2)
Fuel Level Sender
(3)
Fuel Pump
Housing
(4)
Fuel Pump Cover