Curiosii for ever!: Car repair manuals for everyone.

Hose Replacement


If you find any one of the above problems existing in the hoses, they should be replaced.





1. Stop engine.
2. Drain coolant as directed in "Engine Coolant Check and Replacement."
3. Slit hose end, twist left and right and pull straight off for easy removal.





4. Clean off outlets with clean cloth. Use sandpaper if necessary.
5. Dip ends of new hose into coolant for easier installation.
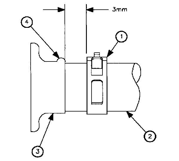
6. Install clamps on hose (1).
7. Install hose (2) onto nipple (3) until hose contacts hose stop bead (4). White line on hose should be at 12 o'clock position.
8. Slide clamp to within 3 mm (0.12 inch) (1) of the hose end.
9. Install pressure tester on bottle and check for leaks.
10. Fill cooling system with coolant as directed in "Engine Coolant Check and Replacement."