Curiosii for ever!: Car repair manuals for everyone.

Pull-to-Seat Connectors

Pull-To-Seat Connectors: Terminal Removal:




TERMINAL REMOVAL

IMPORTANT: Pull-to-seat connectors repair kits are available through Saturn Service Parts. The repair kits include the connector with terminals attached to a short length of wire and crimp and seal splices. Use these kits if the pull-to-seat connector needs replacement.

1. Remove any terminal position assurance (TPA) device.
2. Grasp the lead and pull the terminal to the forward most position. Hold the lead in this stop position.
3. Insert the lock release tool into the front of the terminal cavity. A safety pin may be used for the small Metri-pack 150 series pull-to-seat terminal.
4. Depress the lock tang to unseat the terminal. Never use force to remove a terminal from a connector.
5. Push the wire and the terminal out of the connector cavity.

CUT LEAD INSTALLATION

Pull-To-Seat Connectors: Cut Lead Installation:




1. Insert the wire through the connector and seat the terminal in the connector. Check to make sure the lock tab is engaged.
2. Remove insulation from the end of the cut lead and the harness. Recommended strip length is 9.5 mm (3/8 in.). Caution must be used to prevent cutting the wire strands.

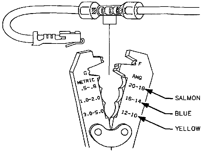
Pull-To-Seat Connectors: Wire Size Gage:




3. Determine proper sleeve for gage wire from the above chart.
4. Position stripped ends in sleeve until wires hit the top in the center of the splice.
5. Hand crimp using the approved crimping tool. Gently tug on wires to make sure they are secure before applying heat to them.

CAUTION: Do not use match or open flame to apply heat to seal.

6. Apply heat using Ultratorch or some other device, heating to 175°C (347°F) until glue flows around edges of sleeve.

Important: The salmon splice can be used on the 0.35(22 gage) wire if the following additional steps are taken:

7. Remove 19 mm (3/4 in.) of insulation.
8. Bend the stripped portion in half to double the thickness.
9. Twist the stripped, doubled wire and insert into the splice sleeve.