Curiosii for ever!: Car repair manuals for everyone.

Connector Jumper Usage

Connector Jumper Usage:





NOTICE: Do not push multimeter probes into the connector terminals.

Connector Jumper Usage:




Connector Jumper Usage:





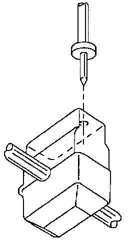
These devices are made of a short length of wire, a terminal, and a diagnostic service probe or an alligator clip. The terminals may be obtained from the service parts cut lead kits or from a scrap wiring harness.

They have a dual purpose. The first being to aid in measuring voltage, resistance, or current at a connector. Since diagnostic service probes are limited to use on 0.35, 0.50 and 0.80 mm, (22, 20 and 18 gage) thin wall wire, many of the wires cannot be probed without disconnecting the connector. But, probing the terminal could spread the contacts and damage them. Once a contact is damaged it is very difficult to make good contact with a male terminal. By constructing a jumper, the probe can make excellent contact with the circuit through the diagnostic service probe or the alligator clip, and the terminal won't be damaged.

The second function is to determine if a terminal's contacts have been spread apart, making an open or intermittent open. This is known as a terminal tightness test. Connector terminals make contact with the pin by means of a tang which is sprung against the pin. If the tang is spread apart by a meter probe, the tang will not spring back to tightly grip the pin. Test this by inserting the jumper pin and removing it, noting how well the terminal holds the pin. It should be held well enough that the pin will not fall out of the terminal.