Curiosii for ever!
: Car repair manuals for everyone.
Home
>>
Saturn
>>
1995
>>
Sedan L4-1.9L DOHC VIN 7
>>
Repair and Diagnosis
>>
Diagrams
>>
Connector Views
>>
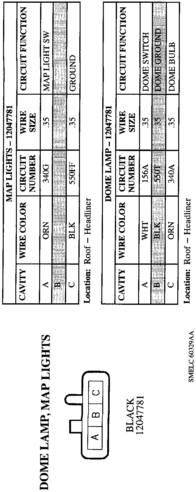
Map Light
Map Light
Description: