Curiosii for ever!: Car repair manuals for everyone.

Headlamp Control Module - Replacement

BULLETIN NO.: 99-T-46

ISSUE DATE: October, 1999

GROUP/SEQ. NO.: Electrical-04

CORPORATION NO.: 99-08-42-008

SUBJECT:
Service Information on Headlamp Control Module Replacement

MODELS AFFECTED:
1991 Saturn S-Series Coupes

PURPOSE:
This bulletin provides service information on headlamp control module replacement.

NOTICE:
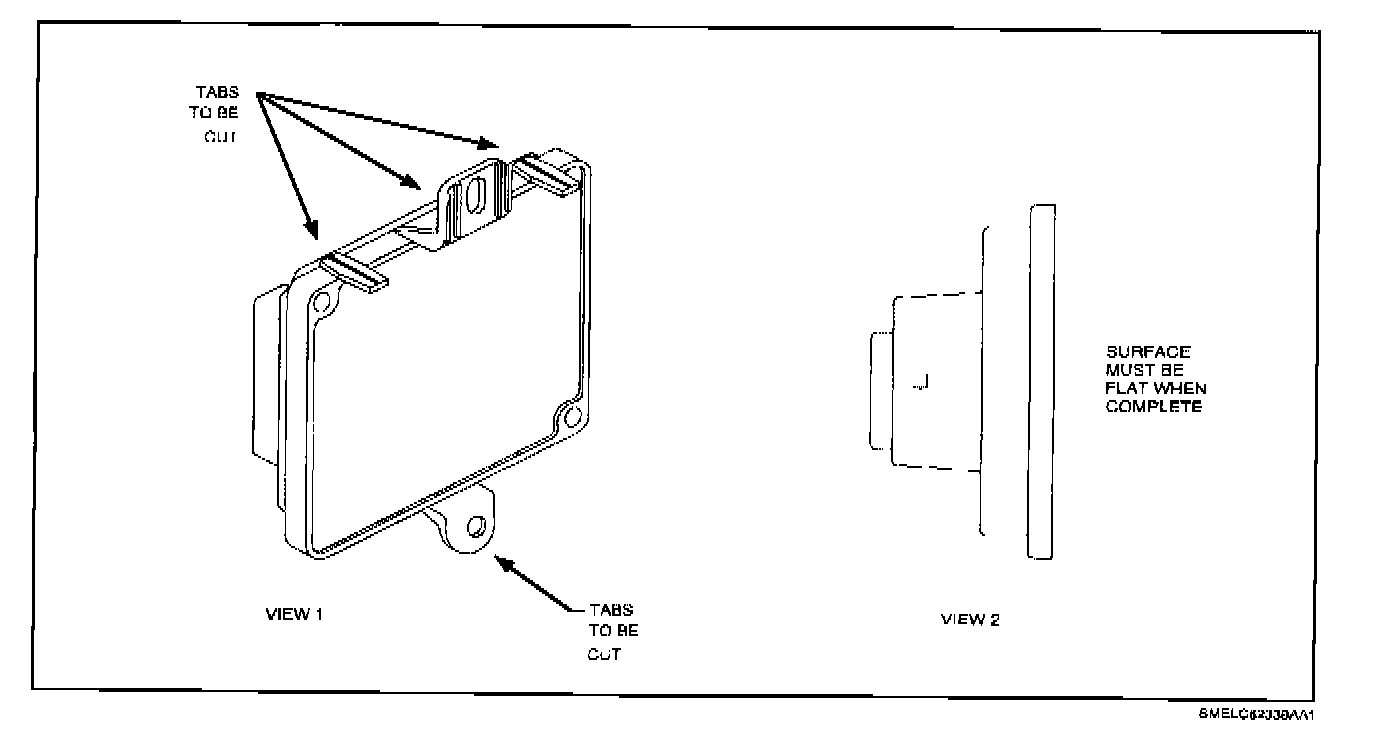
Do not use side-cutters to remove plastic tabs from replacement headlamp control module. Side-cutters will crack the housing and allow water intrusion.





When replacing a headlamp control module, use a hacksaw blade to cut plastic mounting tabs off of replacement headlamp control module. Refer to illustration for tabs to be cut off.