Curiosii for ever!
: Car repair manuals for everyone.
Home
>>
Saturn Truck
>>
2009
>>
Outlook AWD V6-3.6L
>>
Repair and Diagnosis
>>
Relays and Modules
>>
Relays and Modules - HVAC
>>
Control Module HVAC
>>
Service and Repair
>>
HVAC - Manual
>>
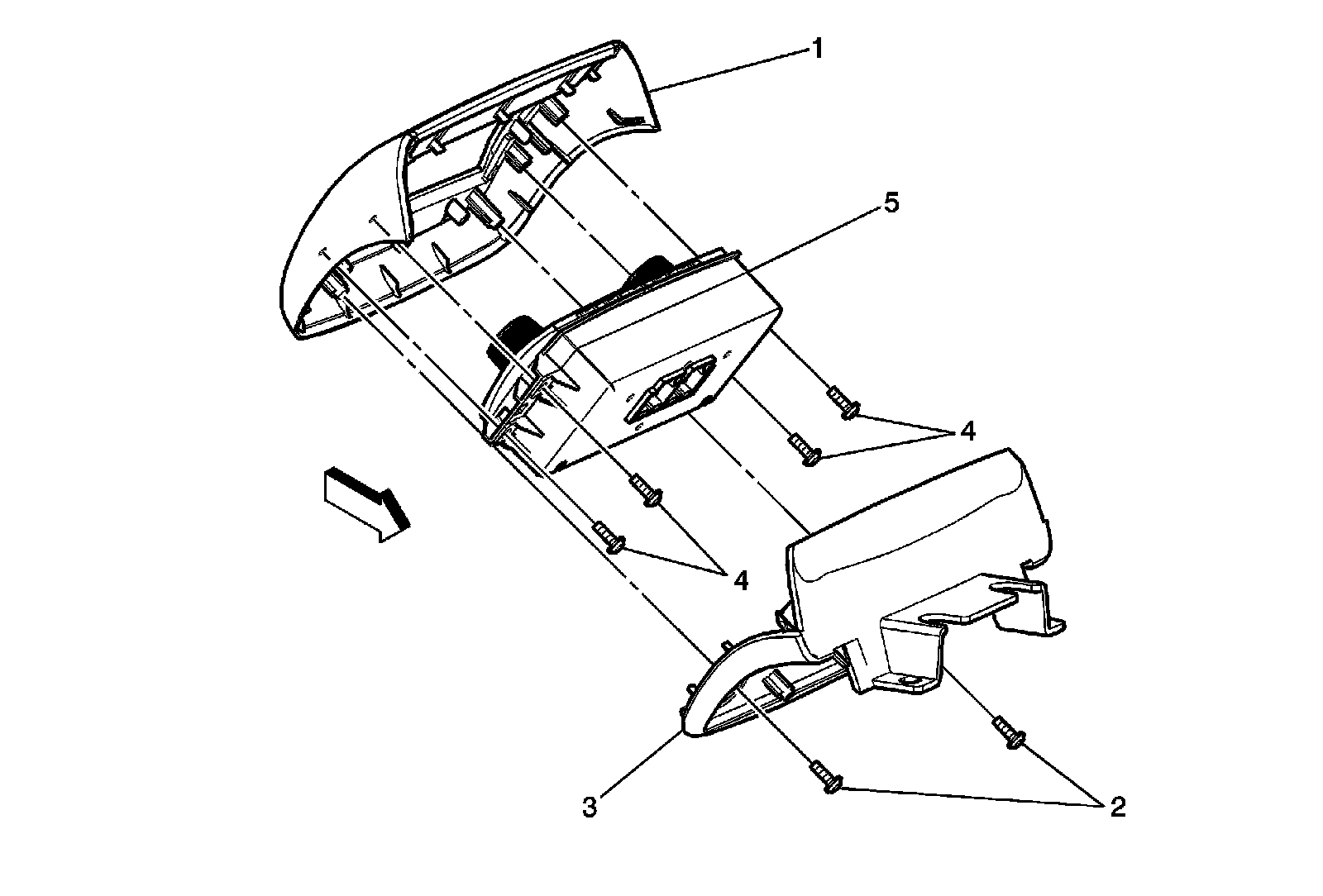
Auxiliary Heater and Air Conditioning Control Module Replacement
Auxiliary Heater and Air Conditioning Control Module Replacement
Auxiliary Heater and Air Conditioning Control Module Replacement