Curiosii for ever!: Car repair manuals for everyone.

Knock Sensor Replacement - Bank 2



Knock Sensor Replacement - Bank 2

Removal Procedure





1. Raise and support the vehicle. Refer to Lifting and Jacking the Vehicle (Service and Repair) .
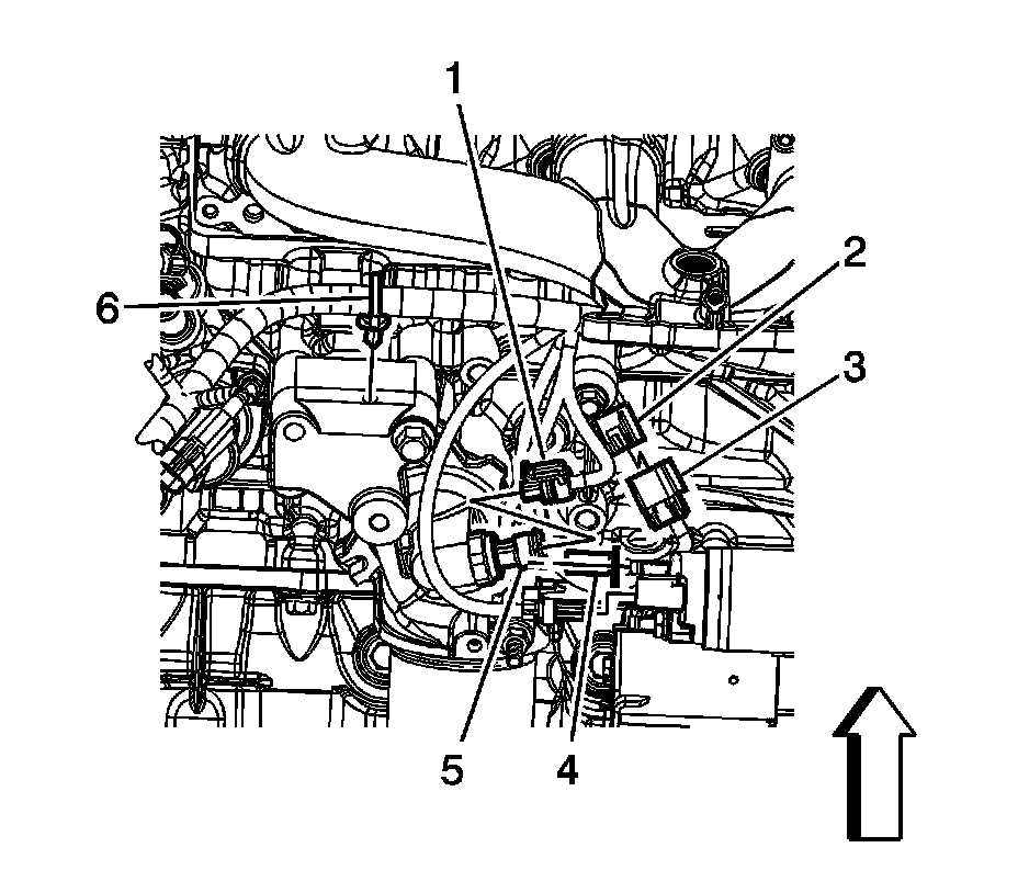
2. Disconnect the engine wiring harness electrical connector (3) from the knock sensor (2).




3. Remove the knock sensor bolt and sensor.



Installation Procedure






Notice: Refer to Fastener Notice (Fastener Notice) .

1. Position the knock sensor to the engine block and install the knock sensor bolt.

Tighten the bolt to 25 N.m (18 lb ft).





2. Connect the engine wiring harness electrical connector (3) to the knock sensor (2).
3. Lower the vehicle.