Curiosii for ever!
: Car repair manuals for everyone.
Home
>>
Saturn Truck
>>
2007
>>
VUE FWD L4-2.2L
>>
Repair and Diagnosis
>>
Starting and Charging
>>
Power and Ground Distribution
>>
Fuse
>>
Locations
>>
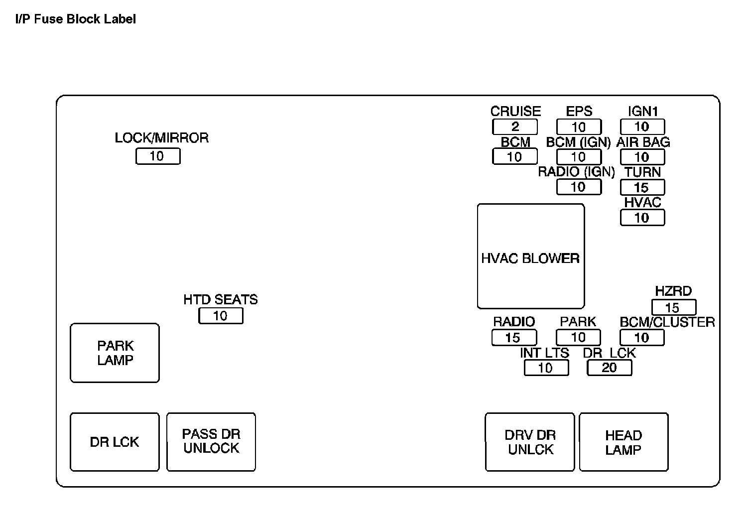
I/P Fuse Block
I/P Fuse Block
Location View:
Application Table:
Location View:
Location View: