Curiosii for ever!: Car repair manuals for everyone.

Knock Sensor: Description and Operation



Knock Sensor (KS) System Description





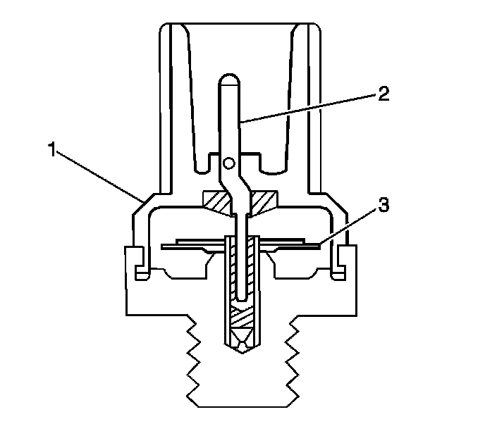
The 3.5L engine is equipped with a knock sensor (KS) (1) that is located on the engine block underneath the intake manifold. Ignition timing determines the relationship between the time the spark plug is fired and the time that the piston reaches top dead center (TDC). TDC is the point in time when the piston achieves maximum upward travel in the cylinder. If the spark plug ignites the compressed air/fuel mixture too late, not all of the air/fuel mixture has time to burn while the fuel is highly compressed. Late ignition causes a decrease in fuel efficiency, decreased power, and increased exhaust emissions. If the spark plug fires too soon, too much of the air/fuel mixture starts burning before the piston reaches the top of the compression stroke. Early ignition of the air/fuel mixture causes detonation, commonly referred to as spark knock. Constant spark knock in the motor is undesirable. Excessive spark knock can reduce engine performance. If severe enough, detonation can cause engine damage.

Every engine has an optimum ignition timing value. The optimum ignition timing is usually the earliest or most advanced firing of the spark plug that is possible without causing detonation. An engines optimum ignition timing is designed to be the most advanced ignition timing possible during the most demanding conditions. The optimum ignition timing is affected by all of the following variables:

* The engine load
* The engine temperature
* The atmospheric pressure
* The fuel quality
* The fuel's octane rating

Ignition systems equipped with a knock sensor (KS) can be engineered for optimum ignition timing. A KS detects when the engine is experiencing detonation and then signals the PCM to reduce the spark advance until detonation is no longer detected.

Operation





The KS detects when the engine is experiencing detonation. The KS (1) has a Piezo ceramic element (3) that generates a signal at the same resonance point as the expected knocking frequency of the engine. When engine detonation is detected, the sensor signals the PCM to reduce the spark advance until detonation is no longer detected.

In response to the KS signal the PCM retards the spark advance in order to reduce the detonation. The amount of timing retard that the PCM applies is based on the engine speed and the length of time that the engine detonation is detected. Once the spark timing is retarded, the KS circuitry in the PCM performs calculations in order to determine how much spark advance should be re-introduced. Normally the ignition timing advance is increased until zero retard, or normal ignition timing, is re-established. If detonation occurs again, the whole cycle will repeat. The alteration of the ignition timing by the KS often occurs continuously while the engine is running, even though no detonation is heard by the vehicle's operator.

Results of Faulty Knock Sensor Operation

A KS that falsely indicates detonation can cause the PCM to retard the ignition timing unnecessarily. Reduced spark advance can cause any of the following conditions:

* Poor fuel economy
* Sluggish engine performance
* Higher exhaust emissions

A KS that fails to detect detonation can cause the PCM to control the ignition timing as if no detonation were occurring. Failure of the PCM to retard the ignition timing when necessary could cause any of the following concerns:

* An excessive engine detonation
* Engine damage during heavy engine loads
* Higher exhaust emissions