Curiosii for ever!: Car repair manuals for everyone.

Fuel System Description



Fuel System Description

Fuel System Overview

The fuel system is a returnless on-demand design. The fuel pressure regulator is a part of the fuel sender assembly, eliminating the need for a return pipe from the engine. A returnless fuel system reduces the internal temperature of the fuel tank by not returning hot fuel from the engine to the fuel tank. Reducing the internal temperature of the fuel tank results in lower evaporative emissions.

An electric turbine style fuel pump attaches to the fuel sender assembly inside the fuel tank. The fuel pump supplies high pressure fuel through the fuel feed pipe to the fuel injection system. The fuel pump provides fuel at a higher rate of flow than is needed by the fuel injection system. The fuel pressure regulator, a part of the fuel sender assembly, maintains the correct fuel pressure to the fuel injection system. The fuel pump and sender assembly contains a reverse flow check valve. The check valve and the fuel pressure regulator maintain fuel pressure in the fuel feed pipe and the fuel rail in order to prevent long cranking times.

Fuel Tank




The fuel tank stores the fuel supply. The fuel tank is located in the rear of the vehicle. The fuel tank is held in place by 2 metal straps that attach to the frame. The fuel tank is molded from high density polyethylene.

Fuel Fill Pipe




The fuel fill pipe (2) has a built-in restrictor and deflector in order to prevent refueling with leaded fuel.

Fuel Filler Cap






Notice: If a fuel tank filler cap requires replacement, use only a fuel tank filler cap with the same features. Failure to use the correct fuel tank filler cap can result in a serious malfunction of the fuel and EVAP system.

The fuel fill pipe has a tethered fuel filler cap. A torque-limiting device prevents the cap from being over tightened. To install the cap, turn the cap clockwise until you hear audible clicks. This indicates that the cap is correctly torqued and fully seated. A built-in device indicates that the fuel filler cap is fully seated. A fuel filler cap that is not fully seated may cause a malfunction in the emission system.

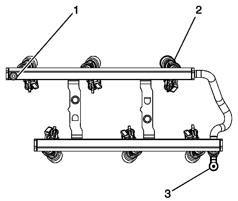
Fuel Sender Assembly




The fuel sender assembly consists of the following major components:

* The fuel tank pressure sensor (1)
* Not used (2)
* The fuel feed pipe (3)
* The fill limit vent valve (4)
* The vapor recirculation line (5)
* The fuel level sensor (6)
* The fuel pressure regulator (7)

Fuel Level Sensor




The fuel level sensor consists of a float, a wire float arm, and a ceramic resistor card. The position of the float arm indicates the fuel level. The fuel level sensor contains a variable resistor which changes resistance in correspondence with the amount of fuel in the fuel tank. The engine control module (ECM) sends the fuel level information via the class 2 circuit to the instrument panel cluster (IPC). This information is used for the instrument panel (I/P) fuel gage and the low fuel warning indicator, if applicable. The ECM also monitors the fuel level input for various diagnostics.

Fuel Pump

The fuel pump is mounted in the fuel sender assembly reservoir. The fuel pump is an electric high pressure pump. Fuel is pumped to the fuel rail at a specified flow and pressure. Excess fuel from the fuel rail assembly returns to the fuel tank through the fuel return pipe. The fuel pump delivers a constant flow of fuel to the engine even during low fuel conditions and aggressive vehicle maneuvers. The engine control module (ECM) controls the electric fuel pump operation through a fuel pump relay. The fuel pump flex pipe acts to dampen the fuel pulses and noise generated by the fuel pump.

Fuel Strainer

The fuel strainer attaches to the lower end of the fuel sender. The fuel strainer is made of woven plastic. The functions of the fuel strainer are to filter contaminants and to wick fuel. The fuel strainer is self-cleaning and normally requires no maintenance. Fuel stoppage at this point indicates that the fuel tank contains an abnormal amount of sediment or water.

Fuel Feed Pipe

The fuel feed pipe carries fuel from the fuel tank to the fuel rail assembly. The fuel pipes consist of 2 sections:

* The rear fuel pipe assembly is located from the top of the fuel tank to the chassis fuel pipe. The rear fuel pipe is constructed of nylon.
* The chassis fuel pipe is located under the vehicle and connect the rear fuel pipe to the fuel rail pipe. This pipe is constructed of steel.

Nylon Fuel Pipe

Caution: Refer to Fuel and EVAP Pipe Caution.

Nylon pipes are constructed to withstand maximum fuel system pressure, exposure to fuel additives, and changes in temperature. There are 2 sizes of nylon pipes used: 3/8 inch ID for the fuel feed, and 1/2 inch ID for the vent. Heat resistant rubber hose or corrugated plastic conduit protect the sections of the pipes that are exposed to chafing, high temperature, or vibration.

Nylon fuel pipes are somewhat flexible and can be formed around gradual turns under the vehicle. However, if nylon fuel pipes are forced into sharp bends, the pipes kink and restrict the fuel flow. Also, once exposed to fuel, nylon pipes may become stiffer and are more likely to kink if bent too far. Take special care when working on a vehicle with nylon fuel pipes.

Quick-Connect Fittings

Quick-connect fittings provide a simplified means of installing and connecting fuel system components. The fittings consist of a unique female connector and a compatible male pipe end. O-rings, located inside the female connector, provide the fuel seal. Integral locking tabs inside the female connector hold the fittings together.

Fuel Pipe O-Rings

O-rings seal the threaded connections in the fuel system. Fuel system O-ring seals are made of special material. Service the O-ring seals with the correct service part.

Fuel Rail Assembly




The fuel rail assembly attaches to the engine intake manifold. The fuel rail assembly performs the following functions:

* Positions the injectors (2) in the intake manifold
* Distributes fuel evenly to the injectors
* Integrates the fuel pressure regulator with the fuel metering system

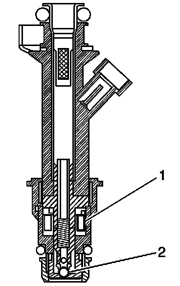
Fuel Injectors




The Mini Multec 3.5 fuel injector assembly is a solenoid operated device, controlled by the engine control module (ECM), that meters pressurized fuel to a single engine cylinder. The ECM energizes the high-impedance (12.0 ohms) injector solenoid (2) to open a normally closed ball valve (3). This allows fuel to flow into the top of the injector, past the ball valve, and through a director plate at the injector outlet. The director plate has four machined holes that control the fuel flow, generating a spray of finely atomized fuel at the injector tip. Fuel from the injector tip is directed at the intake valve, causing it to become further atomized and vaporized before entering the combustion chamber. An injector stuck partly open can cause a loss of pressure after engine shutdown. Consequently, long cranking times would be noticed on some engines.

Fuel Pressure Regulator

The fuel pressure regulator is a diaphragm operated relief valve. The fuel pump pressure is on one side of the regulator and the regulator spring pressure is on the other side. The function of the fuel pressure regulator is to maintain a constant fuel pressure under all of the operating conditions. The pressure regulator DOES NOT compensate for the engine load by increasing the fuel pressure as the engine intake manifold vacuum drops. The vent on the fuel pressure regulator is an atmospheric vent only. The fuel pressure regulator is mounted on the fuel sender assembly.

Fuel Metering Modes of Operation

The engine control module (ECM) monitors voltages from several sensors in order to determine how much fuel to give the engine. The fuel is delivered under one of several conditions called modes. The ECM controls all modes.

Starting Mode

With the ignition switch in the ON position, before engaging the starter, the engine control module (ECM) energizes the fuel pump relay for 2 seconds allowing the fuel pump to build up pressure. The ECM first tests speed density, then switches to the mass air flow (MAF) sensor. The ECM also uses the engine coolant temperature (ECT), the throttle position (TP), and the manifold absolute pressure (MAP) sensors to determine the proper air/fuel ratio for starting. The ECM controls the amount of fuel delivered in the starting mode by changing the pulse width of the injectors. This is done by pulsing the injectors for very short times.

Clear Flood Mode

If the engine floods, clear the engine by pressing the accelerator pedal down to the floor and then crank the engine. When the throttle position (TP) sensor is at wide open throttle, the engine control module (ECM) reduces the injector pulse width in order to increase the air to fuel ratio. The ECM holds this injector rate as long as the throttle stays wide open and the engine speed is below a predetermined RPM. If the throttle is not held wide open, the ECM returns to the starting mode.

Run Mode

The run mode has 2 conditions called Open Loop and Closed Loop. When the engine is first started and the engine speed is above a predetermined RPM, the system begins Open Loop operation. The engine control module (ECM) ignores the signal from the heated oxygen sensor (HO2S) and calculates the air/fuel ratio based on inputs from the engine coolant temperature (ECT), mass air flow (MAF), manifold absolute pressure (MAP), and throttle position (TP) sensors. The system stays in Open Loop until meeting the following conditions:

* Both HO2S have varying voltage output, showing that they are hot enough to operate properly. This depends upon the engine temperature.
* The ECT sensor is above a specified temperature.
* A specific amount of time has elapsed after starting the engine.

Specific values for the above conditions exist for each different engine, and are stored in the electrically erasable programmable read-only memory (EEPROM). The system begins Closed Loop operation after reaching these values. In Closed Loop, the ECM calculates the air/fuel ratio (injector on-time) based upon the signal from various sensors, but mainly from the HO2S. This allows the air/fuel ratio to stay very close to 14.7:1.

Acceleration Mode

When the driver pushes on the accelerator pedal, air flow into the cylinders increases rapidly, while fuel flow tends to lag behind. To prevent possible hesitation, the engine control module (ECM) increases the pulse width to the injectors to provide extra fuel during acceleration. The ECM determines the amount of fuel required based upon the throttle position, the coolant temperature, the manifold air pressure, the mass air flow, and the engine speed.

Deceleration Mode

When the driver releases the accelerator pedal, air flow into the engine is reduced. The engine control module (ECM) reads the corresponding changes in throttle position, manifold air pressure, and mass air flow. The ECM shuts OFF fuel completely if the deceleration is very rapid, or for long periods, such as long, closed-throttle coast-down. The fuel shuts OFF in order to protect the catalytic converters.

Battery Voltage Correction Mode

When the battery voltage is low, the engine control module (ECM) compensates for the weak spark delivered by the ignition system in the following ways:

* Increasing the amount of fuel delivered
* Increasing the idle RPM
* Increasing the ignition dwell time

Fuel Cutoff Mode

The engine control module (ECM) cuts off fuel from the fuel injectors when the following conditions are met in order to protect the powertrain from damage and improve driveability:

* The ignition is OFF. This prevents engine run-on.
* The ignition is ON but there is no ignition reference signal. This prevents flooding or backfiring.
* The engine speed is too high, above red line.
* The vehicle speed is too high, above rated tire speed.
* During an extended, high speed, closed throttle coast down. This reduces emissions and increases engine braking.
* During extended deceleration, in order to protect the catalytic converters.

Short Term Fuel Trim

The short term fuel trim values change rapidly in response to the heated oxygen sensor (HO2S) signal voltages. These changes "fine tune" the engine fueling. The ideal fuel trim values are around 0 percent. A positive fuel trim value indicates that the engine control module (ECM) is adding fuel in order to compensate for a lean condition. A negative fuel trim value indicates that the ECM is reducing the amount of fuel in order to compensate for a rich condition.

When the ECM determines that the short term fuel trim is out of the operating range, the following DTCs will set:

* DTC P0171 Bank 1 Too Lean
* DTC P0172 Bank 1 Too Rich

Long Term Fuel Trim

The long term fuel trim is a matrix of cells arranged by RPM and manifold absolute pressure (MAP). Each cell of the long term fuel trim is a register like the short term fuel trim. As the engine operating conditions change, the engine control module (ECM) will switch from cell to cell to determine what long term fuel trim factor to use in the base pulse width equation.

While in any given cell, the ECM also monitors the short term fuel trim. If the short term fuel trim is far enough from 0 percent, the ECM will change the long term fuel trim value. Once the long term fuel trim value is changed, it should force the short term fuel trim back toward 0 percent. If the mixture is still not correct, the short term fuel trim will continue to have a large deviation from the ideal 0 percent. In this case, the long term fuel trim value will continue to change until the short term fuel trim becomes balanced. Both the short term fuel trim and long term fuel trim have limits which vary by calibration. If the mixture is off enough so that long term fuel trim reaches the limit of its control and still cannot correct the condition, the short term fuel trim would also go to its limit of control in the same direction. If the mixture is still not corrected by both short term fuel trim and long term fuel trim at their extreme values, a fuel trim diagnostic trouble code (DTC) will likely result. When the ECM determines that the long term fuel trim is out of the operating range, the following DTCs will set:

* DTC P0171 Bank 1 Too Lean
* DTC P0172 Bank 1 Too Rich

Under the conditions of power enrichment, the ECM sets the short term fuel trim to 0 percent until power enrichment is no longer in effect. This is done so the Closed Loop factor and the long term fuel trim will not try to correct for the power enrichment condition.