Curiosii for ever!: Car repair manuals for everyone.

5AT - Automatic Transmission



Park/Neutral Position Switch Replacement

^ Tools Required
- J 36346 Fascia Retainer Remover

Removal Procedure
1. Apply the parking brake.
2. Place the transmission shift lever in the neutral position.
3. Raise and support the vehicle.
4. Remove the tire and wheel.
5. Remove the left splash shield.





6. Remove the range selective lever bolt and cover.
7. Using the J 36346, disconnect the control cable from the transaxle range switch lever.
8. Disconnect the Park/neutral position switch harness connector.





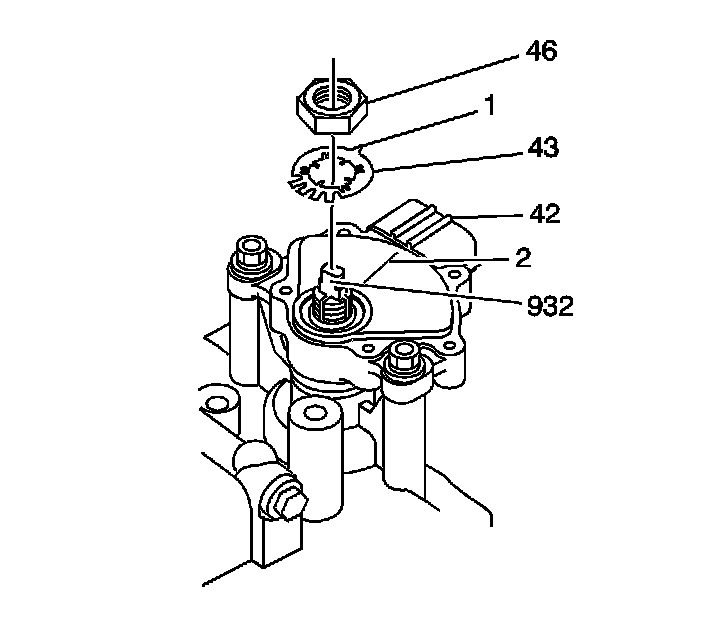
9. Remove the transmission control nut (4) and lever (1).
10. Using a small screwdriver, bend the lock washer tabs down on the manual shaft nut.





11. Remove the manual shaft nut and lock washer.





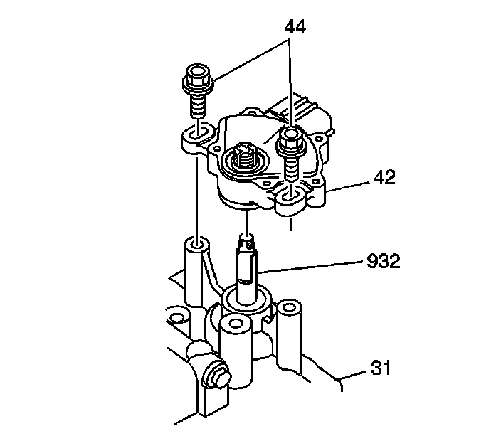
12. Remove the park/neutral position switch bolts.
13. Remove the park/neutral position switch from the transmission.

Installation Procedure





1. Position the park/neutral position switch (42) to the neutral (N) position. The park/neutral position switch will click in the neutral position, and the control shaft hole aligns with the positioning line.





2. Install the park/neutral position switch (42) gently over the manual shift shaft (932), and install the M 6 x 1.0 x 16 mm flanged bolt/screws loosely into the transmission case housing.
3. Install a new lock washer over the manual shift shaft while aligning the projection/indicator point of the lock washer with the positioning line on the park/neutral position switch, and install the 16 mm locknut.





Notice: Refer to Fastener Notice in Service Precautions.

4. Push the 16 mm locknut against the transmission housing to seat the park/neutral position switch into the manual shift shaft, and tighten the 16 mm locknut while holding the manual shift shaft (932) with an adjustable wrench, and then bend the lock tabs of the lock washer (46) against the 16 mm lock nut.
^ Tighten the 16 mm locknut to 12 Nm (8.7 ft. lbs.).
5. Tighten the park/neutral position switch flanged bolt/screws to secure the park/neutral position switch to the transmission case housing.
^ Tighten the 2 M 6 x 1.0 x 16 mm flanged bolt/screws to 12 Nm (8.7 ft. lbs.).





6. Install the range selector lever (1), 8 mm spring washer (2), 8 mm lock washer (3), and 8 mm locknut (4) on the manual shift shaft.
^ Tighten the 8 mm locknut to 12 Nm (8.7 ft. lbs.).





7. Connect the shift cable to the transmission control lever and cable bracket.
8. Connect the park/neutral position switch harness connectors.
9. Install the range selective lever bolt and cover.
^ Tighten the bolt to 10 Nm (89 inch lbs.).
10. Install the left splash shield.
11. Install the tire and wheel.
12. Lower the vehicle.
13. Verify the park/neutral position switch adjustment by starting the vehicle in all ranges. If the transmission starts in any ranger other than park or neutral, readjust the park/neutral position switch.