Curiosii for ever!
: Car repair manuals for everyone.
Home
>>
Saturn Truck
>>
2006
>>
VUE 2WD L4-2.2L VIN D
>>
Repair and Diagnosis
>>
Power and Ground Distribution
>>
Relay Box
>>
Application and ID
>>
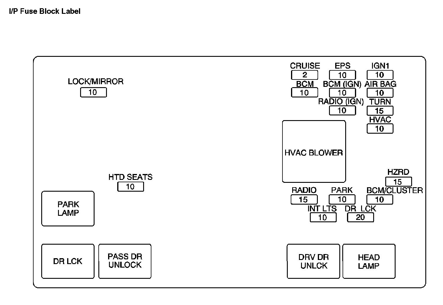
I/P Fuse Block
I/P Fuse Block
Location View:
Application Table:
Location View:
Location View: