Curiosii for ever!: Car repair manuals for everyone.

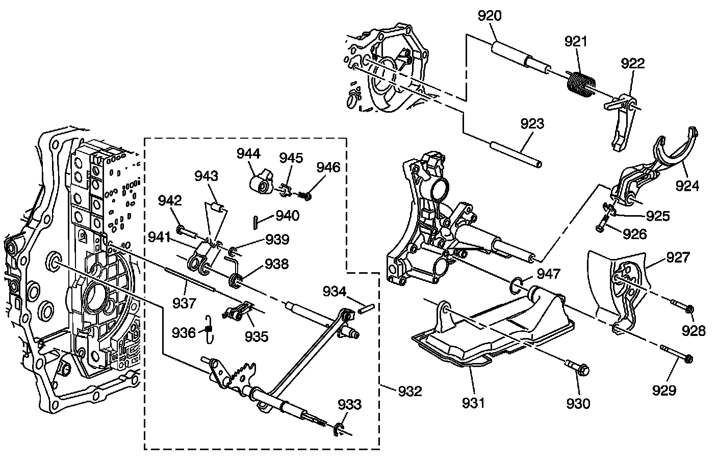
Shift Components



Disassembled Views

Shift Components:





920 - Park Pawl Shaft
921 - Park Pawl Actuator Spring
922 - Park Pawl
923 - Park Pawl Stop Lever Pin - 8 x 73 mm
924 - Reverse Shift Fork
925 - Reverse Shift Fork Washer
926 - Reverse Shift Fork Retainer Bolt - M6 x 30 mm
927 - Automatic Transmission Fluid Baffle
928 - Transmission Fluid Baffle Bolt - M6 x 80 mm
929 - Transmission Fluid Baffle Bolt - M6 x 95 mm
930 - Automatic Transmission Fluid Filter Bolt
931 - Automatic Transmission Fluid Filter
932 - Manual Shift Shaft Assembly
933 - Manual Shaft Retainer Ring - 12 mm
934 - Park Pawl Actuator Shaft Hole Pin - 4 x 18 mm
935 - Manual Shift Shaft Detent Roller Assembly
936 - Manual Shift Shaft Detent Roller Spring
937 - Manual Shift Shaft Detent Roller Pin
938 - Park Pawl Actuator Spring
939 - Park Pawl Actuator Roller Pin Washer - 6 mm
940 - Park Pawl Actuator Roller Pin Retainer Pin - 1.6 x 12 mm
941 - Park Pawl Actuator
942 - Park Pawl Actuator Roller Pin - 6 mm
943 - Park Pawl Actuator Roller
944 - Parking Pawl Stop Lever
945 - Park Pawl Stop Lever Washer - 6 mm
946 - Park Pawl Stop Lever Bolt - M6 x 25 mm
947 - Automatic Transmission Fluid Filter O-ring Seal - 21.8 x 1.9 mm