Curiosii for ever!
: Car repair manuals for everyone.
Home
>>
Saturn Truck
>>
2005
>>
VUE AWD V6-3.5L VIN 4
>>
Repair and Diagnosis
>>
Diagrams
>>
Connector Views
>>
Ignition Control Module
Ignition Control Module
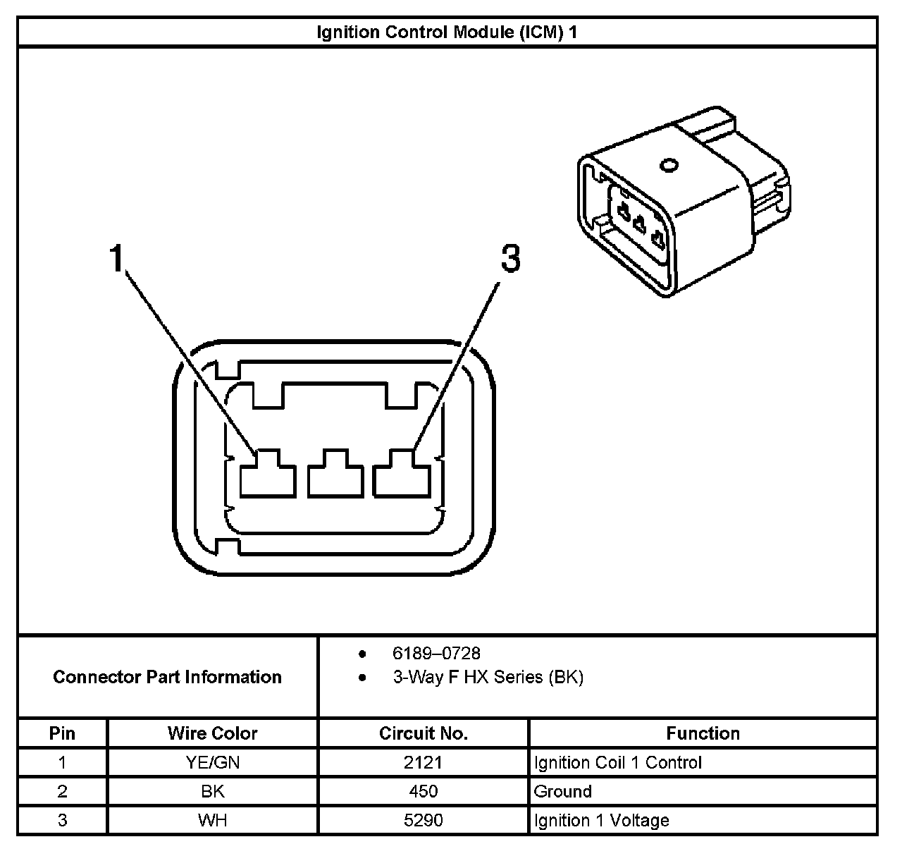
Ignition Control Module (ICM) 1:
Ignition Control Module (ICM) 2:
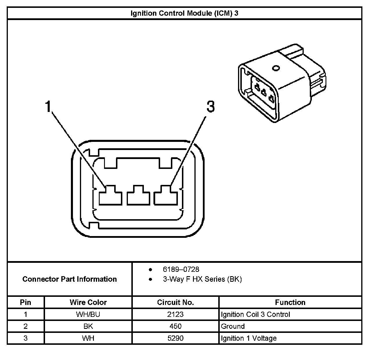
Ignition Control Module (ICM) 3:
Ignition Control Module (ICM) 4:
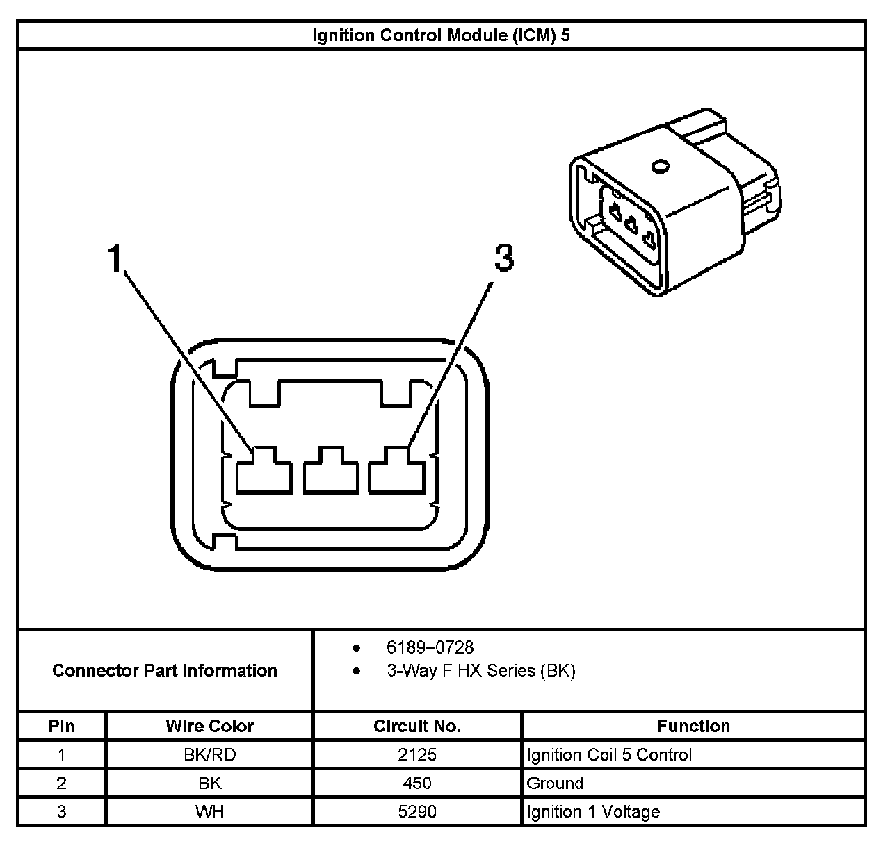
Ignition Control Module (ICM) 5:
Ignition Control Module (ICM) 6: