Curiosii for ever!
: Car repair manuals for everyone.
Home
>>
Saturn Truck
>>
2005
>>
VUE AWD L4-2.2L VIN D
>>
Repair and Diagnosis
>>
Powertrain Management
>>
Computers and Control Systems
>>
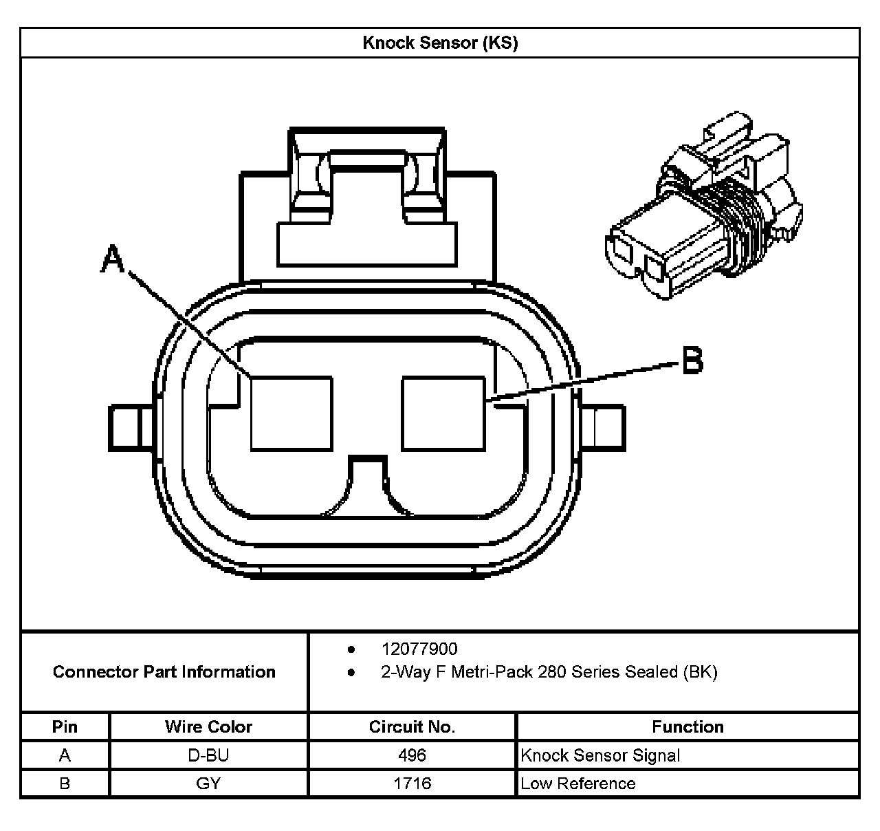
Knock Sensor
>>
Diagrams
>>
Connector Views
Connector Views
Knock Sensor (KS):