Curiosii for ever!: Car repair manuals for everyone.

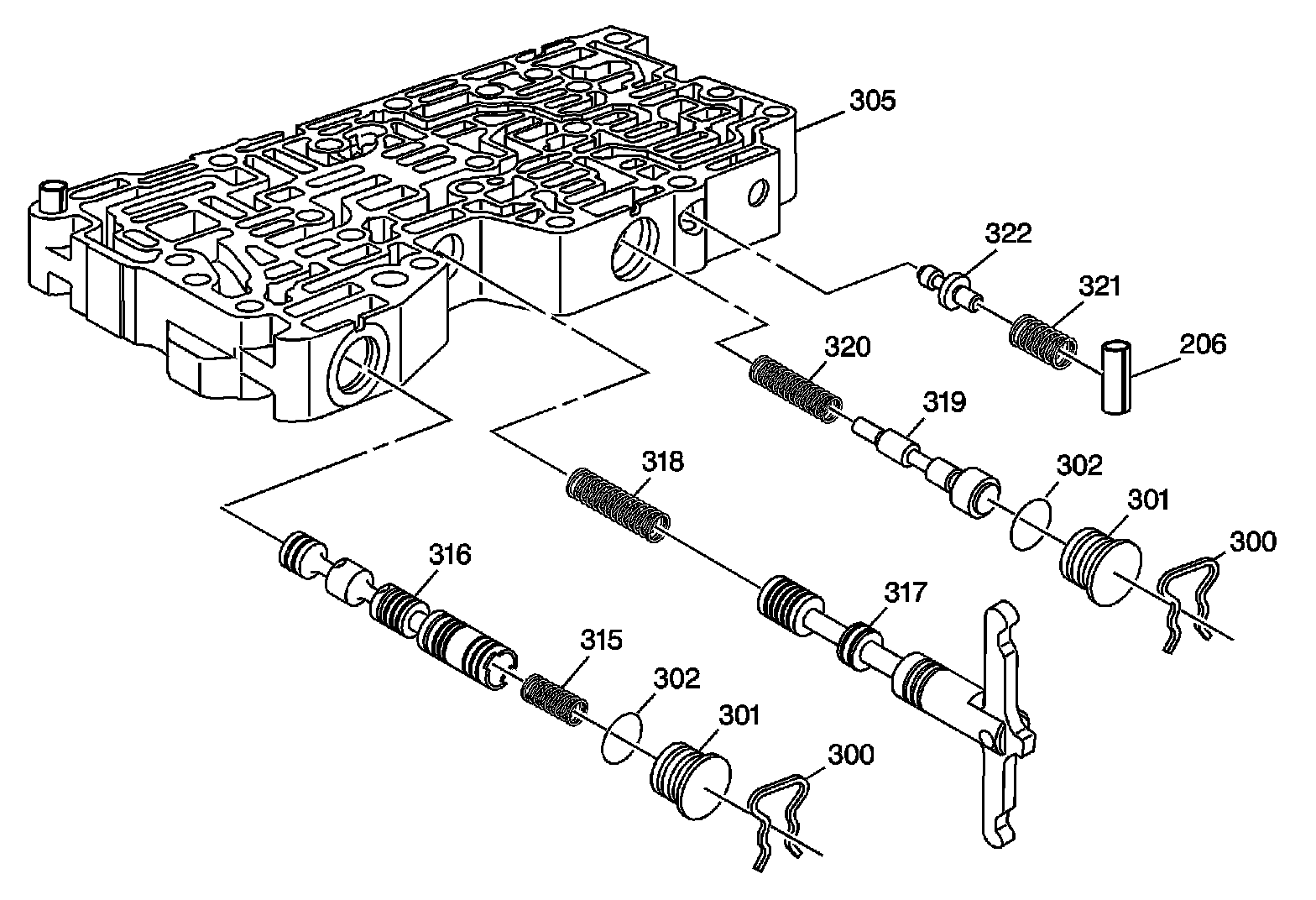
Control Valve Body Disassembled View (2 of 2)









(206) Control Solenoid Valve Locator Pin
(300) Bore Plug Retainer
(301) Bore Plug
(302) Bore Plug Seal
(305) Control Valve Body
(315) Line 1 Pressure Regulator Valve Spring
(316) Line 1 Pressure Regulator Valve
(317) Variable Ratio Control Valve Lever Assembly
(318) Variable Ratio Control Valve Spring
(319) TCC Regulator Valve
(320) TCC Regulator Apply Valve Spring
(321) Clutch Boost Valve Spring
(322) Clutch Boost Valve