Curiosii for ever!: Car repair manuals for everyone.

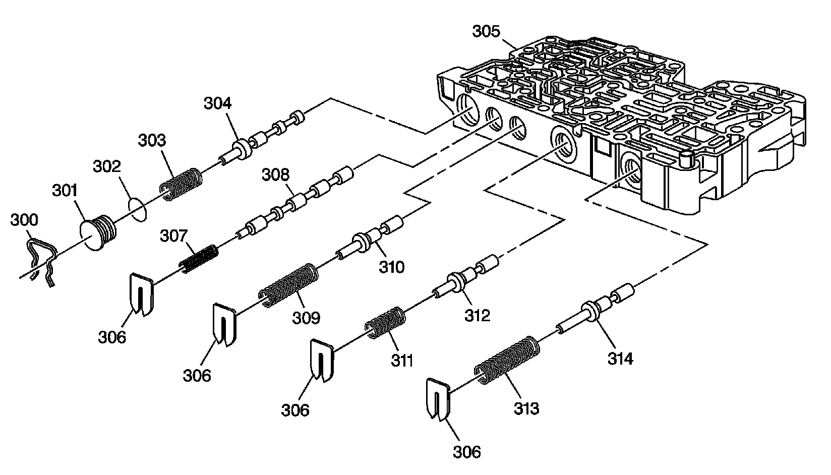
Control Valve Body Disassembled View (1 of 2)










(300) Bore Plug Retainer
(301) Bore Plug
(302) Bore Plug Seal
(303) Forward and Reverse Clutch Valve Spring
(304) Forward and Reverse Clutch Valve
(305) Control Valve Body
(306) Valve Spring Seat
(307) TCC Control Valve Spring
(308) TCC Control Valve
(309) Line Limit Valve Spring
(310) Line Limit Valve
(311) Actuator Feed Limit Valve Spring
(312) Actuator Feed Limit Valve
(313) Primary Limit Valve Spring
(314) Primary Limit Valve