Curiosii for ever!
: Car repair manuals for everyone.
Home
>>
Saturn Truck
>>
2005
>>
VUE AWD L4-2.2L VIN D
>>
Repair and Diagnosis
>>
Diagrams
>>
Connector Views
>>
Continuously Variable Transmission/Transaxle, CVT
>>
Control Module, CVT
Control Module, CVT
Transmission Control Module Harness 64-Way C1 Connector:
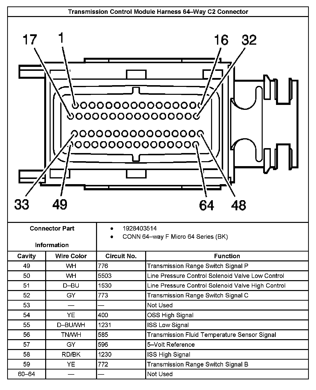
Transmission Control Module Harness 64-Way C2 Connector 1:
Transmission Control Module Harness 64-Way C2 Connector 2: