Curiosii for ever!
: Car repair manuals for everyone.
Home
>>
Saturn Truck
>>
2004
>>
VUE AWD V6-3.5L VIN 4
>>
Repair and Diagnosis
>>
Diagrams
>>
Connector Views
>>
Ignition Control Module
>>
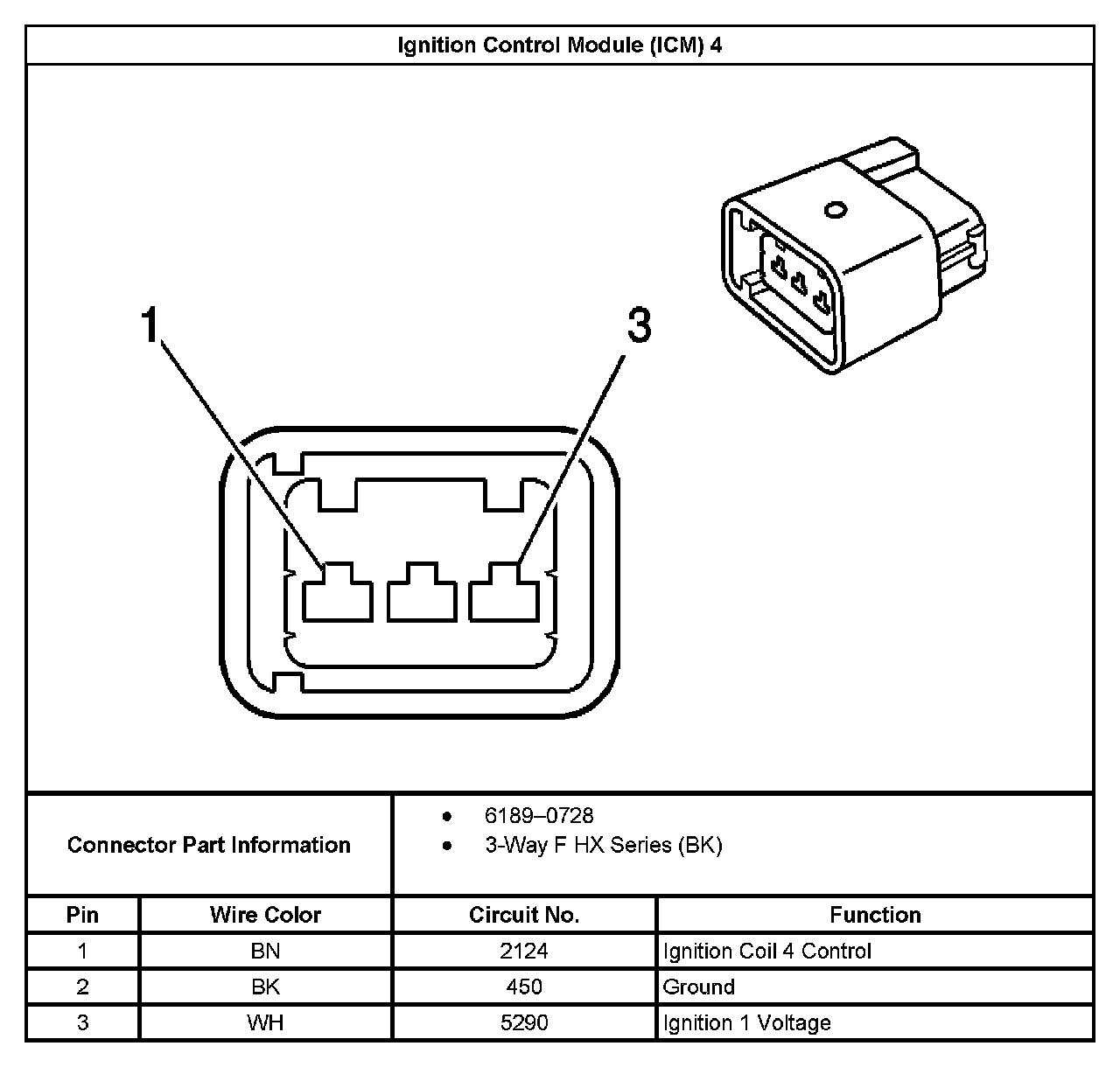
Ignition Control Module (ICM) 4
Ignition Control Module (ICM) 4
Ignition Control Module (ICM) 4: