Curiosii for ever!
: Car repair manuals for everyone.
Home
>>
Saturn Truck
>>
2004
>>
VUE AWD L4-2.2L VIN D
>>
Repair and Diagnosis
>>
Relays and Modules
>>
Relays and Modules - Powertrain Management
>>
Relays and Modules - Computers and Control Systems
>>
Engine Control Module
>>
Diagrams
>>
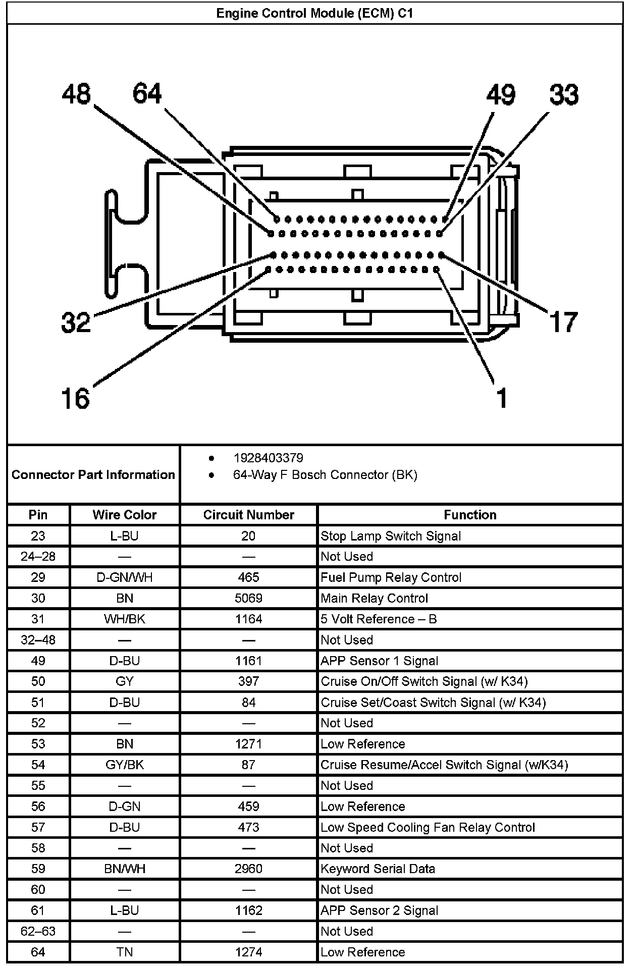
Engine Control Module (ECM) C1
Engine Control Module (ECM) C1
Engine Control Module (ECM) C1 Part 1:
Engine Control Module (ECM) C1 Part 2: