Curiosii for ever!: Car repair manuals for everyone.

Control Valve Body Assembly



Main Control Valve Body Assembly

Main Control Valve Body Assembly:





200 - Modulator Valve Spring Retainer
201 - Modulator Valve Return Spring - 33.5 mm (1.319 inch)
202 - Modulator Valve
203 - Control Valve Body
204 - CPC Valve Return Spring - 17.8 mm (0.701 inch)
205 - CPC Valve
206 - Body Valve Bore Plug - 12 mm, Double Groove Design
206 - Body Valve Bore Plug - 12 mm, Double Groove Design
207 - Body Valve Bore Plug Retainer Clip
207 - Body Valve Bore Plug Retainer Clip
208 - E Shift Valve
209 - E Shift Valve Return Spring - 49 mm (1.929 inch)
210 - Body Valve Spring Retainer
210 - Body Valve Spring Retainer
211 - Transmission Fluid Filter
212 - Relief Valve
213 - Valve Relief Return Spring - 32.1 mm (1.264 inch)
214 - 4th Clutch Apply Fluid Pipe - 8 x 62 mm
215 - Lubrication Control Valve
216 - Valve Lubrication Control Return Spring - 29.9 mm (1.177 inch)
217 - Body Valve Bore Plug - 15 mm
218 - Valve Lock-up Shift Return Spring - 63 mm (2.480 inch)
219 - Lock-up Shift Valve
220 - Body Valve Bore Plug - 14 mm
221 - Control Valve Body Bolt - M6 x 40 mm
222 - Control Valve Body Bolt - M6 x 30 mm
223 - Control Valve Body Bolt - M6 x 32 mm
224 - Control Valve Body Bolt - M6 x 20 mm
225 - Torque Converter Check Valve
226 - Valve Torque Converter Check Return Spring - 35.1 mm (1.382 inch)
227 - Oil Cooler Check Ball Return Spring - 14.5 mm (0.571 inch)
228 - Transmission Fluid Cooler Check Ball Valve - 7/32 inch
229 - Lock-up Timing Valve
230 - Valve Lock-up Timing Return Spring - 34.8 mm (1.370 inch)
231 - Valve Body Bore Plug - 12 mm, Single Groove Design
232 - Automatic Transmission Fluid Pump Driven Gear
233 - Automatic Transmission Fluid Pump Driven Gear Pin
234 - Automatic Transmission Fluid Pump Drive Gear
235 - Manual Valve
236 - D Shift Valve Return Spring - 33.7 mm (1.327 inch)
237 - D Shift Valve
239 - B Shift Valve Return Spring - 49.1 mm (1.933 inch)
240 - B Shift Valve
241 - A Shift Valve Return Spring - 49.1 mm (1.933 inch)
242 - A Shift Valve
243 - Spacer Plate Locating Pin - 8 x 14 mm
243 - Spacer Plate Locating Pin - 8 x 14 mm
244 - Control Valve Body Spacer Plate
245 - Lubrication Control Valve
250 - Control Valve Body Assembly

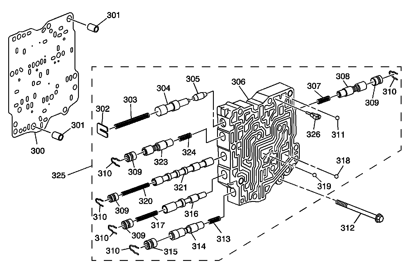
Servo Control Valve Body Assembly

Servo Control Valve Body Assembly:





300 - Servo Valve Body Spacer Plate
301 - Spacer Plate Locating Pin - 8 x 14 mm
301 - Spacer Plate Locating Pin - 8 x 14 mm
302 - Body Valve Spring Retainer
303 - Kick Down Valve Return Spring - 49.1 mm (1.933 inch)
304 - Kick Down Valve
305 - Kick Down Short Valve
306 - Servo Valve Body
307 - CPC Valve B, Return Spring - 17.8 mm (0.701 inch)
308 - CPC Valve B Valve
309 - Body Valve Bore Plug - 12 mm
309 - Body Valve Bore Plug - 12 mm
310 - Body Valve Bore Plug Retainer Clip
310 - Body Valve Bore Plug Retainer Clip
311 - Valve 1st Clutch Accumulator Check - 7/32 in
312 - Servo Valve Body Bolt - M6 x 60 mm
313 - Reverse CPC Valve Return Spring - 17.8 mm (0.701 inch)
314 - Reverse CPC Valve
315 - Body Valve Bore Plug - 14 mm
316 - Servo Valve Control Valve
317 - Servo Valve Control Valve Return Spring - 35.7 mm (1.406 inch)
318 - 1st Clutch Check Valve - 7/32 inch
319 - 2nd Clutch Check Valve - 7/32 inch
320 - Shift Valve C Return Spring - 49.1 mm (1.933 inch)
321 - Shift C Valve
323 - CPC A Valve
324 - CPC Valve A Return Spring - 17.8 mm (0.701 inch)
325 - Servo Valve Body
326 - 1st Accumulator Choke

Regulator Valve Body Assembly

Regulator Valve Body Assembly:





400 - Regulator Valve Body Spacer Plate
401 - Spacer Plate Locating Pin - 8 x 14 mm
401 - Spacer Plate Locating Pin - 8 x 14 mm
404 - Stator Shaft
405 - Stator Shaft Travel Stop Pin - 7 x 71 mm
406 - Stator Shaft O-Ring Seal - 32.5 x 1.8 mm
407 - Pressure Regulator Valve Spring Cap
408 - Stator Reaction Spring - 30.0 mm (1.193 inch)
409 - Regulator Valve Outer Spring - 80.6 mm (3.173 inch)
410 - Regulator Valve Inner Spring - 44.0 mm (1.732 inch)
411 - Regulator Valve Body Bolt - M6 x 35 mm
412 - Regulator Valve Body Bolt - M6 x 55 mm
413 - Regulator Valve Body Bolt - M6 x 70 mm
414 - Regulator Valve Body Bolt - M6 x 80 mm
415 - Pressure Regulator Valve
416 - Pressure Regulator Valve Spring Cap Guide Bolt - M6 x 30 mm
417 - 3rd Accumulator Piston Bore Cover Bolt - M6 x 30 mm
418 - 3rd Accumulator Piston Bore Cover
419 - 3rd Clutch Accumulator Piston Return Spring - 41.4 mm (1.630 inch)
420 - 3rd Clutch Accumulator Piston
421 - 3rd Clutch Accumulator Piston Seal - 21.2 x 2.4 mm
422 - Regulator Valve Body
423 - TCC Lock-Up Control Valve
424 - TCC Lock-Up Control Valve Return Spring - 42.9 mm (1.689 inch)
425 - TCC Lock-Up Control Valve Spacer
426 - Valve Body Bore Plug - 15 mm
427 - Body Valve Bore Plug Retainer Clip
428 - Reverse Shift Fork Shaft
429 - Reverse Shift Fork Shaft Seal - 31 x 2.7 mm
430 - Regulator Valve Body Assembly
431 - Stator Shaft and Torque Arm Assembly

Accumulator Valve Body Assembly

Accumulator Valve Body Assembly:





450 - Accumulator Valve Body Spacer Plate
451 - Spacer Plate Locating Pin - 8 x 14 mm
451 - Spacer Plate Locating Pin - 8 x 14 mm
452 - 5th Clutch Accumulator Piston Retainer Ring - 36 mm
453 - 5th Clutch Accumulator Piston Outer Seal - 29 x 2.4 mm
454 - 5th Clutch Accumulator Piston
455 - 5th Clutch Accumulator Piston Inner Seal - 21.2 x 2.4 mm
456 - 5th Clutch Accumulator Piston Inner Spring - 45.5 mm (1.791 inch)
457 - 5th Clutch Accumulator Piston Outer Spring - 75.7 mm (2.980 inch)
458 - Accumulator Valve Body
459 - 4th Clutch Accumulator Piston Seal - 21.2 x 2.4 mm
460 - 4th Clutch Accumulator Piston
461 - 4th Clutch Accumulator Piston Spring - 45.3 mm (1.783 inch)
462 - 4th Clutch Accumulator Spring Cover
463 - 4th Clutch Accumulator Spring Cover Retainer Ring - 28 mm
464a - Shift Solenoid Valve O-Ring Seal - 9.6 x 1.9 mm
464a - Shift Solenoid Valve O-Ring Seal - 9.6 x 1.9 mm
464a - Shift Solenoid Valve O-Ring Seal - 9.6 x 1.9 mm
464b - Shift Solenoid Valve O-Ring Seal - 7.6 x 1.9 mm
464b - Shift Solenoid Valve O-Ring Seal - 7.6 x 1.9 mm
464b - Shift Solenoid Valve O-Ring Seal - 7.6 x 1.9 mm
465 - C Shift Solenoid Valve
466 - A Shift Solenoid Valve
467 - Shift Solenoid Valve Bolt - M6 x 16 mm
468 - TCC Solenoid Valve
470 - B Shift Solenoid Valve
472 - Coast Clutch Accumulator Valve Retainer
473 - Coast Clutch Accumulator Valve Spring - 42.9 mm (1.689 inch)
474 - Coast Clutch Accumulator Valve
475 - Mainshaft Lube Fluid Pipe - 8 x 85 mm
476 - Accumulator Valve Body Bolt - M6 x 110 mm
477 - Accumulator Valve Body Bolt - M6 x 60 mm
478 - Accumulator Valve Body Bolt - M6 x 140 mm
479 - Accumulator Valve Body Bolt - M6 x 125 mm
480a - 1st Clutch Control Fluid Pipe - 8 x 151.5 mm
480b - Coast Clutch Control Fluid Pipe - 8 x 151.5 mm
481 - 4th Clutch Control Fluid Pipe - 8 x 40 mm
482 - Accumulator Valve Body Bolt - M6 x 95 mm
483 - Accumulator Valve Body Bolt - M6 x 85 mm
484 - 1st Clutch Accumulator Piston Outer Spring
485 - 1st Clutch Accumulator Piston Inner Spring
486 - 1st Clutch Accumulator Piston Inner Seal - 18.3 x 2.4 mm
487 - 1st Clutch Accumulator Piston
488 - 1st Clutch Accumulator Piston Outer Seal - 29 x 2.4 mm
489 - 1st Clutch Accumulator Piston Retainer Ring - 36 mm
490 - 2nd Clutch Accumulator Piston Spring - 53.4 mm (2.102 inch)
491 - 2nd Clutch Accumulator Piston
492 - 2nd Clutch Accumulator Piston Seal - 21.2 x 2.4 mm
493 - 2nd Clutch Accumulator Piston Retainer Ring - 26 mm